Ръководство за употреба и безопасност (Shelly PM Mini Gen3)
Умен превключвател с функция за измерване на мощност
Наричан в този документ "Устройството"
 За безопасна и правилна употреба следвайте тези инструкции. Запазете ги за бъдеща справка.
 За безопасна и правилна употреба следвайте тези инструкции. Запазете ги за бъдеща справка.
Този знак обозначава информация, свързана с безопасност.
Този знак обозначава важна бележка.
Информация за безопасност
За да избегнете възможна вреда, прочетете и следвайте тези инструкции.
ПРЕДУПРЕЖДЕНИЕ!
- Риск от токов удар. Монтажът на Устройството към електрическата мрежа трябва да се извърши внимателно от квалифициран електротехник. 
- Преди да инсталирате Устройството, изключете прекъсвачите. Използвайте подходящо тестово Устройство, за да се уверите, че няма напрежение върху проводниците, които искате да свържете. Когато сте сигурни, че няма напрежение, продължете с инсталирането. 
- Преди да правите каквито и да е промени по връзките, уверете се, че на терминалите на Устройството няма напрежение. 
ВНИМАНИЕ!
- Свързвайте Устройството само към електрическа мрежа и уреди, които отговарят на всички приложими разпоредби. Късо съединение в електрическата мрежа или който и да е уред, свързан към Устройството, може да причини пожар, материални щети и токов удар. 
- Устройството може да се свързва и да управлява само електрически вериги и уреди, които отговарят на приложимите стандарти и норми за безопасност. 
- Не свързвайте Устройството към уреди, които превишават посоченото максимално електрическо натоварване. 
- Свързвайте Устройството само по начина, показан в тези инструкции. Всеки друг метод може да причини повреда и/или нараняване. 
- Устройството и свързаните към него уреди трябва да бъдат обезопасени с предпазител на кабела в съответствие с EN60898-1 (характеристика на изключване B или C, макс. 16 A номинален ток, мин. 6 kA прекъсваща способност, клас на ограничаване на енергията 3). 
- Не използвайте Устройството, ако то показва признаци на повреда или дефект. 
- Не се опитвайте да поправяте Устройството сами. 
- Устройството е предназначено само за употреба на закрито. 
- Пазете Устройството от замърсявания и влага. 
- Не позволявайте на деца да си играят с бутоните/превключвателите, свързани към Устройството. Дръжте устройствата (мобилни телефони, таблети, компютри) за дистанционно управление на Shelly далеч от деца. 
Описание на устройството
Shelly PM Mini Gen3 (устройството) е интелигентен електромер с малък форм-фактор, който позволява дистанционно наблюдение на консумацията на електроенергия от електроуредите.
То може да се монтира в стандартни конзолни кутии, зад електрически контакти и ключове за осветление или на други места с ограничено пространство.
Уеб интерфейс
Устройството има вграден уеб интерфейс за наблюдение, управление и настройка. Уеб интерфейсът е достъпен на адрес http://192.168.33.1 при директна връзка към точката за достъп на устройството или на неговия IP адрес при достъп от същата мрежа. За повече информация посетете https://shelly-link/webui-guide.
Фърмуер
Устройството се предлага с фабрично инсталиран фърмуер. Винаги използвайте най-новата версия на фърмуера. Редовно проверявайте за актуализации чрез уеб интерфейса или приложението Shelly Smart Control.
API
Устройството може да има достъп и да взаимодейства с други интелигентни устройства или системи за автоматизация, ако те са в една и съща мрежова инфраструктура. Шелли Юръп ЕООД предоставя API за устройствата, тяхната интеграция и облачен контрол. За повече информация посетете https://shelly-api-docs.shelly.cloud .
Инструкции за монтаж
ЗАБЕЛЕЖКА
- Препоръчваме използването на плътни едножилни проводници или многожилни проводници с кабелни накрайници. Изолацията на проводниците трябва да бъде устойчива на висока температура – не по-малко от PVC T105°C (221°F). 
- Не използвайте бутони или ключове с вградени LED или неонови лампи. 
- При свързване на проводници към клемите на устройството, спазвайте изискванията за напречно сечение и дължина на оголената част. Не свързвайте няколко проводника към една и съща клема. 
- От съображения за сигурност, след като успешно свържете устройството към локалната Wi-Fi мрежа, препоръчваме да изключите или защитите с парола неговата Wi-Fi точка за достъп (AP). 
- За фабрично нулиране натиснете и задръжте бутона Reset/Control за 10 секунди. 
- За активиране на точката за достъп и Bluetooth задръжте бутона Reset/Control за 5 секунди. 
- Не използвайте L клемата(ите) на устройството за захранване на други устройства. 

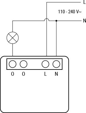
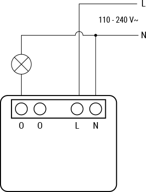
Фиг. 1
Легенда:
Клеми на устройството:
O: Клема за изход 
L: Клема за фаза (110-240 V)
N: Клема за нула
Проводници:
N: Нула
L: Фаза (110 - 240 VAC)
- Свържете товара към някоя от клемите O на устройството и нулата, както е показано на Фиг. 1. 
- Свържете фазата към клема L на устройството. 
- Свържете нулата към клема N на устройството. 
Използване на устройството в Shelly Cloud
Устройството може да бъде наблюдавано, управлявано и настройвано чрез нашата услуга за домашна автоматизация Shelly Cloud. Можете да използвате услугата чрез нашето мобилно приложение за Android, iOS или Harmony OS или чрез всеки интернет браузър на адрес https://control.shelly.cloud/ . Ако решите да използвате устройството с приложението и услугата Shelly Cloud, можете да намерите инструкции за свързване на устройството с облака и управлението му от приложението Shelly в ръководството за приложението: https://shelly.link/app-guide . Мобилното приложение Shelly и услугата Shelly Cloud не са предпоставки за правилното функциониране на Устройството. Това Устройство може да се използва самостоятелно или с различни други платформи за домашна автоматизация.
Спецификации
Размери (HxWxD): 29x34x16 mm / 1,34x1,11x0,63 in
Температура на околната среда: от -20 °C до 40 °C / от -5 °F до 105 °F
Влажност на въздуха: 30 % до 70 % RH
Максимална надморска височина 2000 m / 6562 ft
Захранване: 110 - 240 VAC, 50/60 Hz
Консумация на електроенергия: < 1,2 W
Максимален измервателен ток AC: 16 A
Максимална измервателна мощност: 3840 W
Радиочестотна лента: 2400 - 2495 MHz
Макс. Радиочестотна мощност: < 20 dBm
Wi-Fi протокол: 802.11 b/g/n
Работен обхват на Wi-Fi (в зависимост от местните условия):
- до 50 м на открито 
- до 30 м на закрито 
Bluetooth протокол: 4.2
Работен обхват на Bluetooth (в зависимост от местните условия):
- до 30 м на открито 
- до 10 м на закрито 
Процесор: ESP-Shelly-C38F
Флаш-памет: 8 MB
Уебхукове (URL действия): 20 с по 5 URL адреса на уебхук
Скриптиране: Да
MQTT: Да
Отстраняване на неизправности
В случай че срещнете проблеми с инсталирането или работата на Устройството, проверете неговата база за знания страница: https://shelly.link/PM_mini_Gen3
Декларация за съответствие
С настоящото Шелли Юръп ЕООД декларира, че радиооборудването тип Shelly 1PM Mini Gen3 е в съответствие с Директива 2014/53/ЕС, 2014/35/ЕС, 2014/30/ЕС, 2011/65/ЕС. Пълният текст на ЕС декларацията за съответствие е достъпен на следния интернет адрес: https://shelly.link/pm_mini_gen3_DoC
Изхвърляне и рециклиране
 Не изхвърляйте продукта в битови отпадъци. Рециклирайте продукта, за да предотвратите щети на околната среда и здравето и за насърчаване на опазването на ресурсите. Изхвърлете продукта на подходящо място за събиране на отпадъци на ваша отговорност.
 Не изхвърляйте продукта в битови отпадъци. Рециклирайте продукта, за да предотвратите щети на околната среда и здравето и за насърчаване на опазването на ресурсите. Изхвърлете продукта на подходящо място за събиране на отпадъци на ваша отговорност.
Препродавачите, от които е закупено Устройството, са длъжни да приемат отпадъци от електрическо и електронно оборудване (ОЕЕО) безплатно за правилното обезвреждане.
Някои електронни продукти могат да съхраняват лични данни. Потребителят носи отговорност за изтриването на тези данни преди изхвърлянето на Устройството. За изтриване нулирайте устройството до фабричните настройки.
Производител
Шелли Юръп ЕООД
Адрес: бул. Черни връх 51, бул. 3, ет. 2-3, 1407 София, България, Тел. +359 2 988 7435, Електронна поща: support@shelly.cloud, Официален сайт: https://www.shelly.com
Промените в информацията за контакт се публикуват от производителя на официалния уебсайт.
Всички права върху търговската марка Shelly® и други интелектуални права, свързани с това устройство, принадлежат на Shelly Europe Ltd.
