Ръководство за употреба и безопасност (Shelly Flood Gen4)
Shelly Flood Gen4
Интелигентен детектор за течове на вода
Наричан в този документ „Устройството“.
Този знак показва информация за безопасност.
Този знак показва важна забележка.
Информация за безопасност
За безопасна и правилна употреба, прочетете това ръководство и всички други документи, придружаващи този продукт. Запазете ги за бъдещи справки. Неспазването на процедурите за монтаж може да доведе до неизправност, опасност за здравето и живота, нарушение на закона и/или отказ от правни и търговски гаранции (ако има такива). Шелли Юръп ЕООД не носи отговорност за каквито и да е загуби или щети в случай на неправилен монтаж или неправилна работа на това устройство поради неспазване на инструкциите за потребителя и безопасност в това ръководство.
Най-новата версия на документацията е достъпна на следния адрес: https://shelly.link/flood_gen4
ВНИМАНИЕ!
Свързвайте Устройството само по начина, показан в тези инструкции. Всеки друг метод може да причини повреда и/или нараняване.
Не използвайте Устройството, ако то показва признаци на повреда или дефект.
Не се опитвайте да поправяте Устройството сами.
Описание на продукта
Shelly Flood Gen4 е усъвършенстван детектор за течове на вода, който може да ви уведоми за всякакви неочаквани течове, дори когато не сте у дома. Той разполага с кабел за сензор за течове , който позволява откриване в по-голяма площ, а не само в една точка. Устройството поддържа Wi-Fi, Zigbee и Bluetooth свързаност, осигурявайки съвместимост с различни системи за интелигентен дом. Вграденият уеб интерфейс позволява удобно наблюдение, контрол и конфигуриране.
Устройството се доставя с фабрично инсталиран фърмуер. За да го поддържа актуално и сигурно, Шелли Юръп ЕООД предоставя най-новите актуализации на фърмуера безплатно. Достъп до актуализациите можете да получите чрез вградения уеб интерфейс или мобилното приложение Shelly Smart Control. Инсталирането на актуализации на фърмуера е отговорност на потребителя. Шелли Юръп ЕООД не носи отговорност за несъответствие на Устройството, причинено от невъзможността на потребителя да инсталира наличните актуализации своевременно.

Фиг. 1
Легенда
A: Преден капак
B: 1x 1 m удължителен кабел
C: 1x 2 m кабел за сензор за теч
D: 2x Ø6 анкерни дюбела
E: 2x M4 винта
F: Двустранно залепваща лента
G: Монтажна плоча
H: Бутон със светодиодна индикация
I: 4 предварително инсталирани АА батерии 1.5 V
J: Изолираща пластина на батерията
K: 3,5 mm конектор за кабела на сензора за теч
Бутон
Натиснете 1 път, за да събудите Устройството за 3 минути, задейства светодната индикация и излъчва отчет за състоянието.
Докато Устройството е будно:
Натиснете 1 път: Излъчва отчет за състоянието на компонента Flood. Спира звука, в случай на аларма.
Натиснете 2 пъти бързо: Поставя Устройството в спящ режим.
Натиснете бързо 3 пъти: Поставя Устройството в режим на включване на Zigbee за 3 минути. Можете да го намерите в платформата за домашна автоматизация чрез Zigbee Hub.
Натиснете бързо 5 пъти: Превключва Устройството между фърмуер Matter (по подразбиране) и Zigbee.
Натиснете и задръжте за 5 секунди: Започва нулиране на мрежата. Светодиодът мига бавно. Ако не се предприемат действия в рамките на 3 минути, Устройството запазва съществуващите си настройки.
Натиснете и задръжте за 10 секунди: Връща Устройството към фабричните настройки.
Зумер
Дълъг звуков сигнал (3,5 сек. Вкл. / 1,5 сек. Изкл.): Устройството е засекло наводнение.
Кратък звуков сигнал (0,3 сек. Вкл. / 5 сек. Изкл.): Показва изтощена батерия (под 20%). Звуковият сигнал е деактивиран по време на наводнение (освен ако алармата за наводнение не е изключена чрез светодиодния бутон) или когато е активен Икономичен режим.
Светодиодна индикация
Синя светлина: Устройството е в режим на точка за достъп.
Червена светлина: Устройството е в режим свързване, но не е свързано към Wi-Fi мрежа.
Жълта светлина: Устройството е в режим свързване, свързано е с Wi-Fi, но не е свързано със Shelly Cloud или Shelly Cloud е деактивиран.
Зелена светлина: Устройството е в режим свързване, свързано е както към Wi-Fi, така и към Shelly Cloud.
Мигаща лилава светлина: Устройството е в режим на Zigbee сдвояване (пускане в експлоатация).
Мигаща червена/синя светлина: Устройството извършва дистанционна актуализация.
Мигаща жълта светлина: Устройството е в режим на идентификация, което улеснява локализирането му.
Режими на аларма
Устройството има три режима на аларма, всеки от които е подходящ за различен случай на употреба. За подробности вижте страницата с базата знания на Устройството: https://shelly.link/flood_gen4.
Инструкции за монтаж
ЗАБЕЛЕЖКА
Инсталирайте Устройството вертикално.
Не го поставяйте близо до земята, за да подобрите комуникацията и да избегнете контакт с вода в случай на наводнение.
От съображения за сигурност, след като успешно свържете Устройството към локалната Wi-Fi мрежа, препоръчваме да деактивирате или защитите с парола точката за достъп (AP) на Устройството.
За да извършите фабрично нулиране на Устройството, натиснете и задръжте LED бутона за 10 секунди.
За да активирате точката за достъп и Bluetooth връзката на Устройството, натиснете и задръжте LED бутона за 5 секунди.

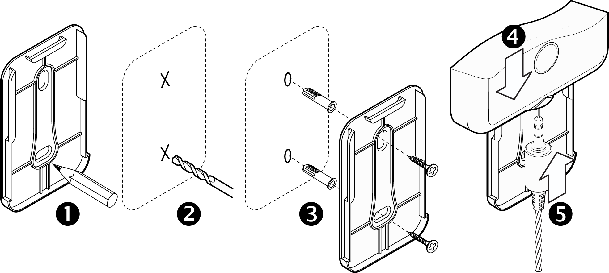
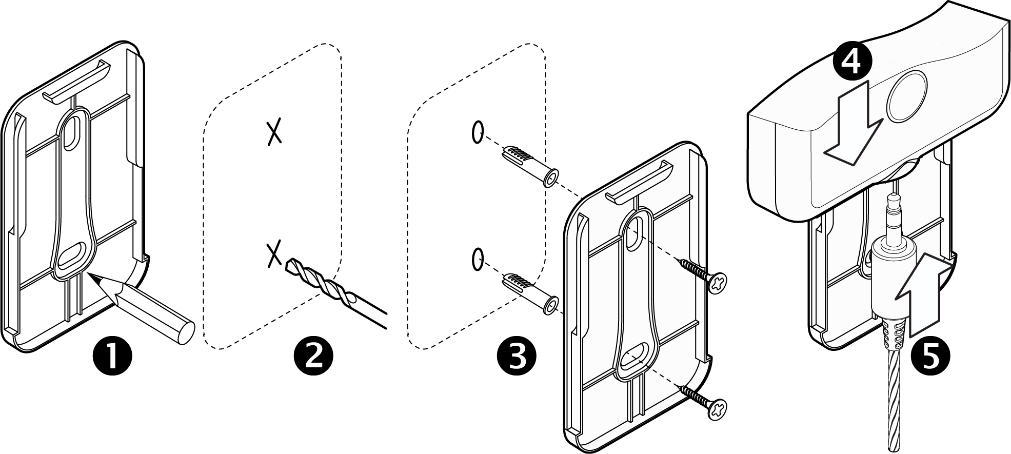
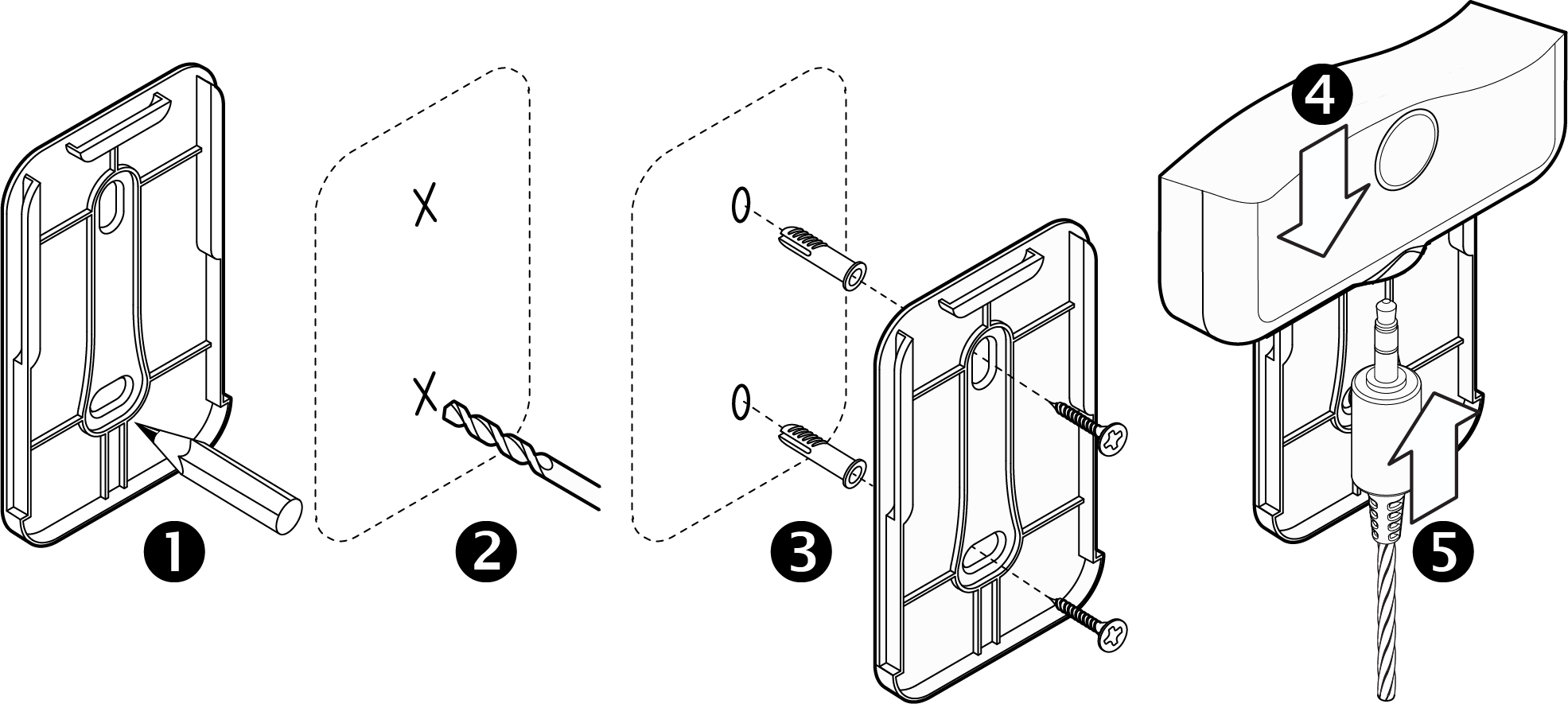
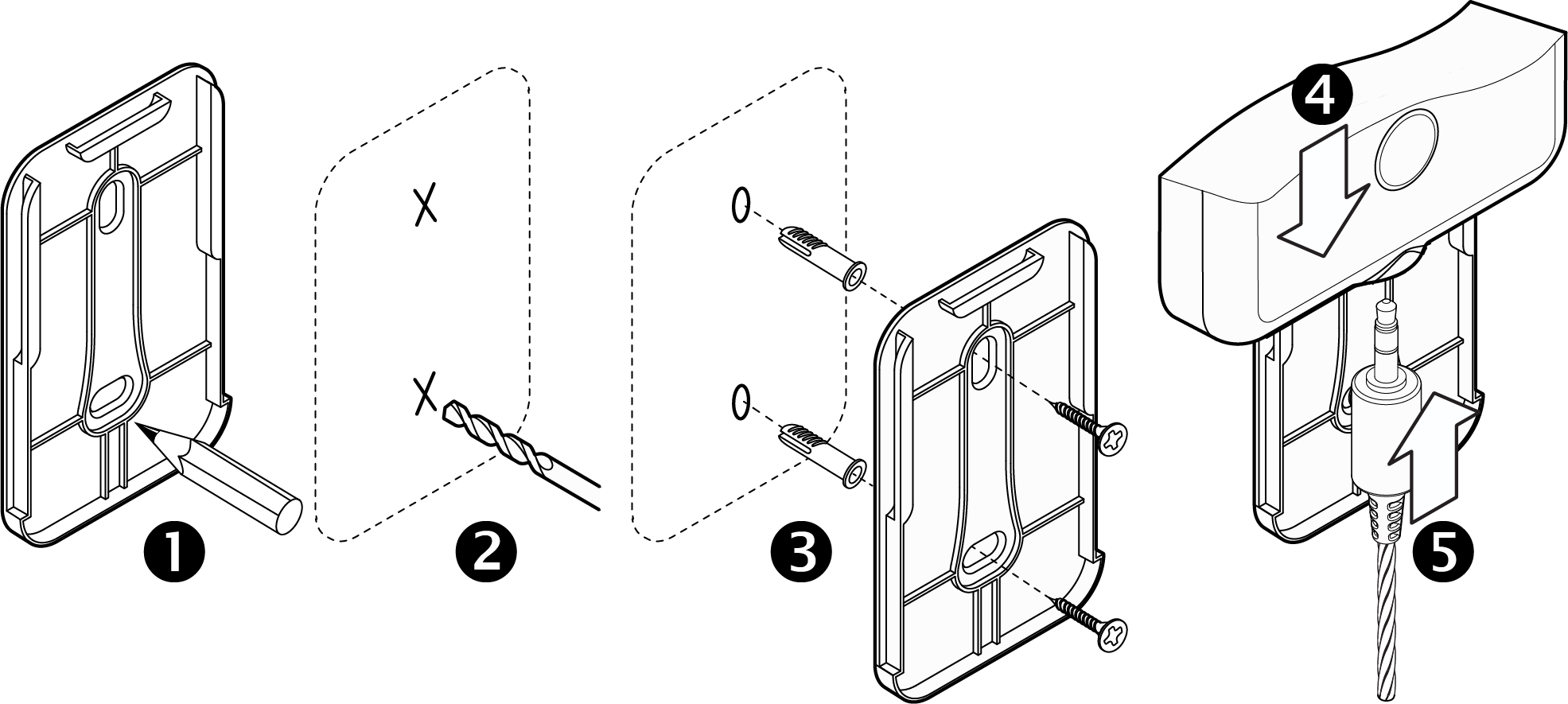
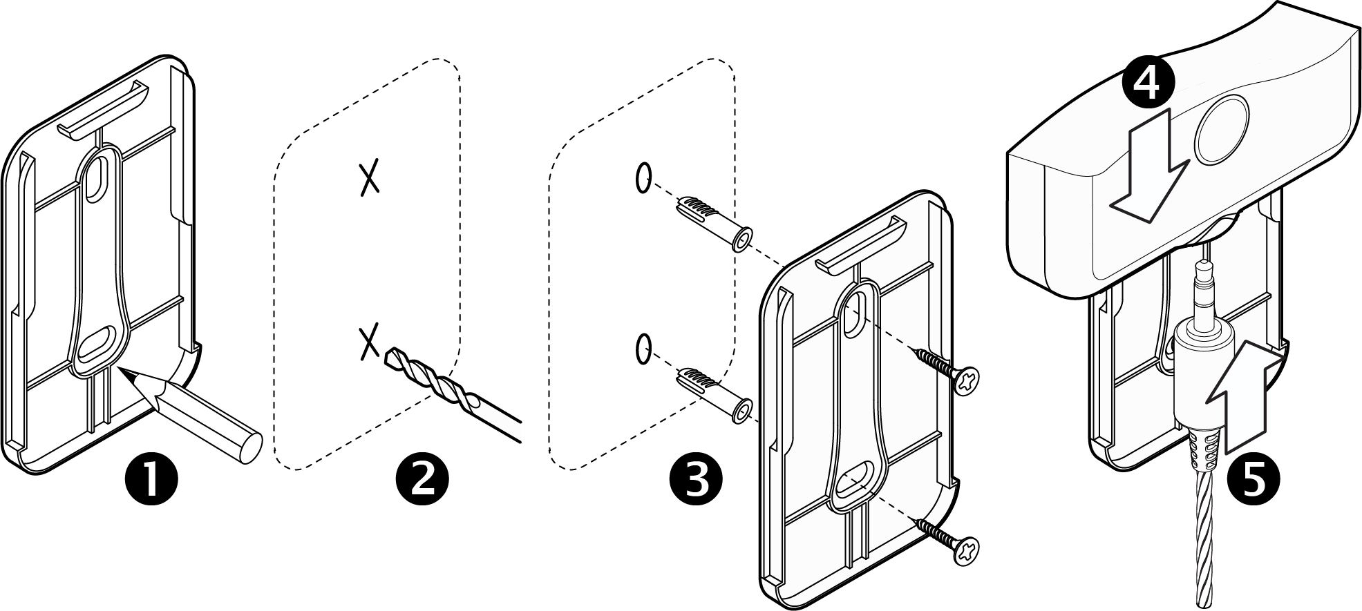
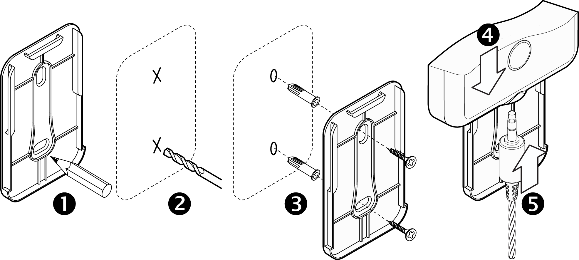
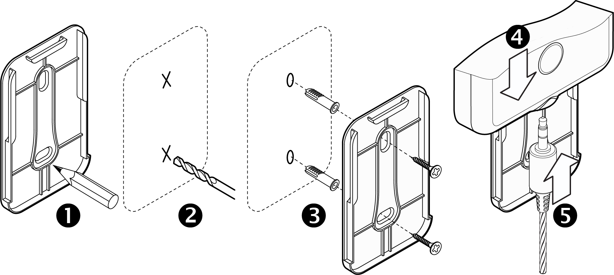
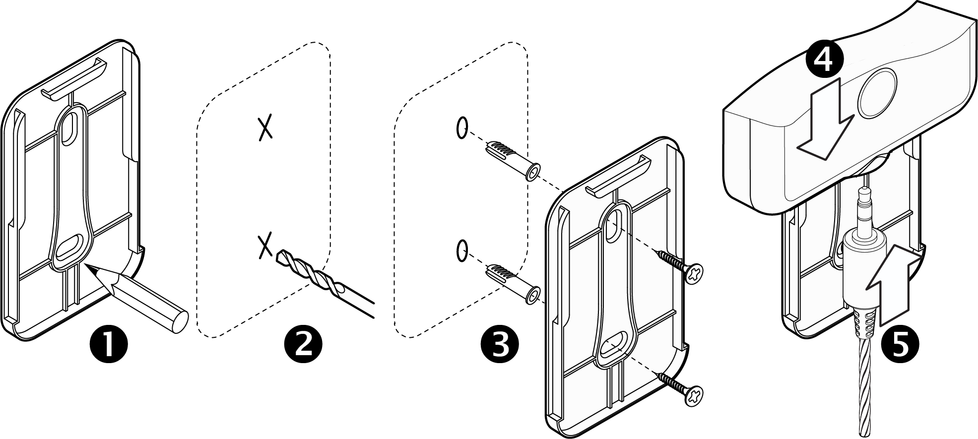
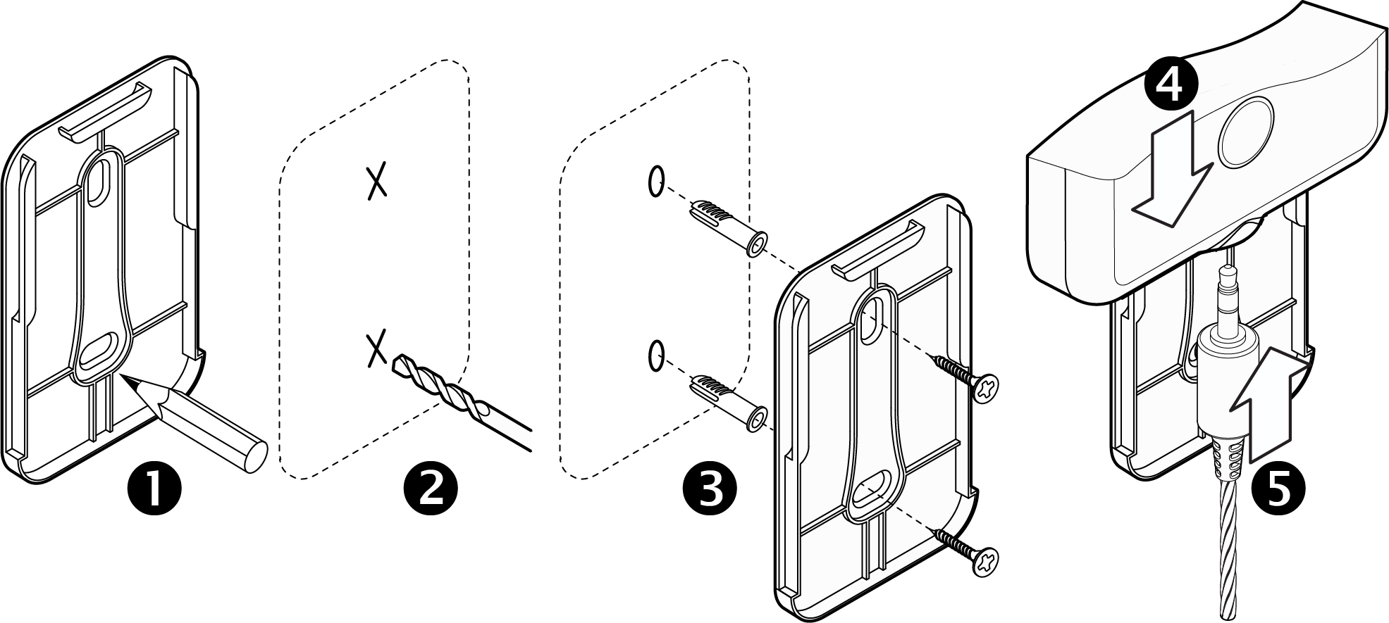
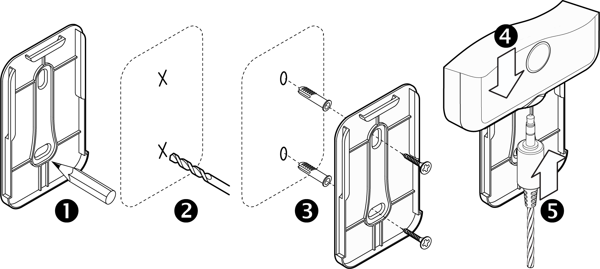
Фиг. 2

Фиг. 3
Активирайте батериите (Фиг. 2):
Отстранете предния капак на Устройството, като поставите плоска отвертка 3-4 мм.
Преместете отвертката нагоре, докато предният капак се освободи.
Издърпайте изолационния езиче на батерията. Синият светодиод ще светне за 3 минути, което показва, че Устройството е в режим на точка за достъп.
Затворете Устройството, като натиснете предния капак, докато щракне на мястото си.
Включете Устройството в акаунта си в Shelly Smart Control.
Вижте раздела Включване в Shelly Cloud за подробности.
За да включите Устройството, то трябва да е в режим на достъп (AP). Ако времето за изчакване на режима на достъп (AP) е изтекло, натиснете LED бутона веднъж, за да го активирате отново.
Монтиране на Устройството (Фиг. 3):
Има два варианта за монтаж на Устройството :
Винтове и дюбели: Следвайте стъпки 1-3 по-долу.
Лепяща лента: Използвайте двустранно лепяща лента (фиг. 1F) за монтаж без инструменти.
Използвайте прорезите на монтажната плоча, за да маркирате точките за пробиване.
Пробийте дупките.
Поставете 2-та анкерни дюбела, след което закрепете монтажната плоча с 2-та винта.
Плъзнете Устройството върху монтажната плоча.
Свържете 1-метровия удължителен кабел, ако е необходимо.
Свържете кабела на сензора за течове.
Добавяне на Zigbee устройство
За да превключите Устройството от фърмуер Matter (по подразбиране) към Zigbee, натиснете 5 пъти светодиодния бутон . Устройството остава в режим на включване за 3 минути и можете да го намерите във вашата платформа за домашна автоматизация чрез Zigbee Hub.
За да премахнете Устройството, отидете на неговата страница и го изтрийте от платформата си за домашна автоматизация.
В Zigbee режим, точката за достъп на Устройството не е налична по подразбиране. За да я активирате, задръжте LED бутона за 5 секунди.
Настройка на Устройството чрез Matter
Преди да започнете, уверете се, че имате:
2.4 GHz Wi-Fi мрежа
Съвместим с Matter хъб, свързан с интернет
Мобилно устройство с активиран Bluetooth и инсталирано приложение, съвместимо с Matter
Активирайте точката за достъп на Устройството, като натиснете и задържите LED бутона за 5 секунди.
Сканирайте QR кода Matter вътре в кутията.
Следвайте инструкциите, които се появяват на екрана ви, за да завършите процеса.
Вграден уеб интерфейс
Устройството има вграден уеб интерфейс, който ви позволява да го наблюдавате, управлявате и да регулирате настройките му. Уеб интерфейсът е достъпен на http://192.168.33.1 , когато сте свързани директно към точката за достъп на Устройството, или на неговия IP адрес, когато вие и Устройството сте свързани към една и съща мрежа.
Името на точката за достъп на Устройството изглежда като ShellyFloodG4 -XXXXXXXXXXXX
Можете да намерите повече информация за вградения уеб интерфейс на: http://shelly.link/webui-guide.
Включване на Shelly Cloud
Устройството може да бъде наблюдавано, контролирано и настройвано чрез нашата услуга за домашна автоматизация Shelly Cloud. Можете да използвате услугата чрез нашето мобилно приложение за Android, iOS или Harmony OS, или чрез всеки интернет браузър на https://control.shelly.cloud/.
Ако изберете да използвате Устройството с приложението и услугата Shelly Cloud, можете да намерите инструкции как да свържете Устройството към облака и да го управлявате от приложението Shelly в ръководството за приложението: https://shelly.link/app-guide.
API
Устройството може да осъществява достъп и да взаимодейства с други интелигентни устройства или системи за автоматизация, ако те са в една и съща мрежова инфраструктура. Шелли Юръп ЕООД предоставя API за устройствата, тяхната интеграция и облачен контрол. За повече информация посетете https://shelly-api-docs.shelly.cloud.
Смяна на батерията
ПРЕДУПРЕЖДЕНИЕ! Не смесвайте стари и нови батерии, различни марки или видове батерии, като например алкални, въглеродно-цинкови или акумулаторни батерии.
ВНИМАНИЕ!
Батериите могат да отделят опасни съединения или да причинят пожар, ако не се изхвърлят правилно. Извадете и незабавно рециклирайте или изхвърлете използваните батерии съгласно местните разпоредби и ги дръжте далеч от деца. НЕ изхвърляйте батериите в битовите отпадъци и не ги изгаряйте.
Уверете се, че батериите са поставени правилно според полярността
+и-.
Когато нивото на батерията падне под 20%, зумерът издава кратък звуков сигнал на всеки 5 секунди. Сменете батериите, за да осигурите непрекъсната защита.
Отстранете предния капак на Устройството, като поставите плоска отвертка 3-4 мм, както е показано на Фиг. 2.
Извадете изтощените батерии и ги изхвърлете съгласно местните разпоредби.
Поставете нови батерии, като спазвате правилната полярност
+и-(фиг. 4).Затворете Устройството, като натиснете предния капак, докато щракне на мястото си (фиг. 2, стъпка 4).
Проверете отново дали всеки ъгъл на капака е здраво прилепнал към гуменото уплътнение на Устройството.
Спецификации
Физически
Размер ( ВxШxД ): 97x76x25 mm
Тегло:
91 g унции (без батерии)
185 g (с батерии)
Монтаж: Стена
Материал на корпуса: Пластмаса
Цвят на корпуса: Бял
Околна среда
Работна температура на околната среда: от -20°C до 40°C
Влажност: 30% до 70% относителна влажност
Максимална надморска височина: 2000 m
Степен на защита: IP44
Електрически
Захранване: 4 батерии
Тип батериr: AA 1.5 V
Очакван живот на батерията: Приблизително 2 години (в зависимост от вида на батерията, температурата, влажността и силата на мрежата).
Сензори, измервателни уреди
Кабел на сензора за течове: 2 m (с възможност за удължаване до 150 m чрез свързване на допълнителни сензорни кабели)
Радио
Wi-Fi
Протокол: 802.11 b/g/n/ax
Радиочестотна лента: 2401-2473 MHz
Максимална радиочестотна мощност: < 20 dBm
Обхват: До 30 m на закрито и 50 m на открито (в зависимост от местните условия)
Bluetooth
Протокол: 5
Радиочестотна лента: 2402 - 2480 MHz
Максимална радиочестотна мощност: <20 dBm
Обхват: До 30 m на открито, до 10 m на закрито (в зависимост от местните условия)
Zigbee
Протокол: 802.15.4
RF диапазони: 2400 до 2480 MHz
Максимална радиочестотна мощност: <20 dBm
Обхват: До 100 m на закрито и 300 m на открито (в зависимост от местните условия)
Микроконтролер
Процесор: ESP-Shelly-C68F
Флаш памет: 8 МБ
Възможности на фърмуера
Уеб кукички (URL действия): 10 с 2 URL адреса на кука
Графици: Не
Скриптиране: Не
MQTT: Да
UDP: Да
KVS: Да
Отстраняване на неизправности
В случай че срещнете проблеми с инсталирането или работата на Устройството, проверете страницата му в базата знания: https://shelly.link/flood_gen4
Почистване
ВНИМАНИЕ!
Не използвайте агресивни препарати.
Не потапяйте Устройството и не го мийте под течаща вода.
Използвайте мека, леко влажна кърпа за почистване на Устройството.
Декларация за съответствие
С настоящото Шелли Юръп ЕООД декларира, че радиосъоръжението тип Flood Gen4 е в съответствие с Директива 2014/53/ЕС, 2014/30/ЕС, 2011/65/ЕС. Пълният текст на декларацията за съответствие с изискванията на ЕС е достъпен на следния интернет адрес: https://shelly.link/flood_Gen4.
Изхвърляне и рециклиране
Не изхвърляйте продукта в битовите отпадъци. Рециклирайте продукта, за да предотвратите увреждане на околната среда и здравето и да насърчите опазването на ресурсите. Изхвърлете продукта в подходящ пункт за събиране на отпадъци на ваша отговорност.
Дилърите, от които е закупено Устройството, са длъжни да приемат безплатно Отпадъчно електрическо и електронно оборудване (ОЕЕО) за правилно изхвърляне.
Някои електронни продукти могат да съхраняват лични данни. Потребителят е отговорен за изтриването на тези данни преди изхвърляне на Устройството. За изтриване, нулирайте Устройството до фабричните му настройки.
Производител: Шелли Юръп ЕООД
Адрес: бул. „Черни връх“ 51, сграда 3, ет. 2-3, 1407 София, България
Тел.: +359 2 988 7435
Имейл: support@shelly.cloud
Официален уебсайт: https://www.shelly.com
Промените в информацията за контакт се публикуват от Производителя на официалния уебсайт.
Всички права върху търговската марка Shelly® и други интелектуални права, свързани с това Устройство, принадлежат на Шелли Юръп ЕООД.