CT 400A

Device identification
- Device name: CT 400A 
- Manufacturer model: CT315 
Short description
CT 400A (The Device) is a split-core current transformer for the Shelly Pro 3EM-400 energy meter.
Features
- Snap-on, screwless mounting system 
Main application
- For use with Shelly Pro 3EM-400 
Connector to Shelly Pro 3EM-400
- 2-pin MX3.0-2x1Y connector 
Specifications
| Type | Value | 
|---|---|
| Physical | |
| Size (HxWxD): | 84x54x48 ±0.5 mm / 3.31x2.13x1.89 ±0.02 in (without the cable) | 
| Weight: | 290 ±1 g / 10.23 ±0.05 oz (with the cable) | 
| Conductor aperture: | Ø35 mm / 1.38 in | 
| Core: | Ferite | 
| Shell material: | Plastic | 
| Color: | White | 
| Environmental | |
| Ambient temperature: | -10 °C to 50 °C / 14 °F to 122 °F | 
| Humidity: | 0 % to 80 % RH | 
| Max. altitude: | 2000 m / 6562 ft | 
| Electrical | |
| Primary/secondary current ration: | 3000/1 | 
| Rated max. primary current: | 400 A | 
| Electrical strength: | 3000 VAC, 60 sec | 
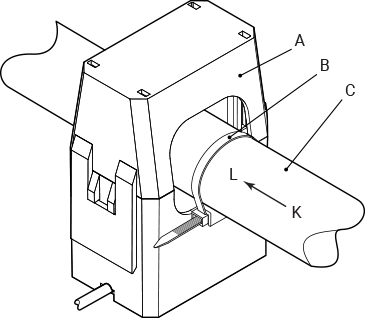
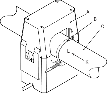
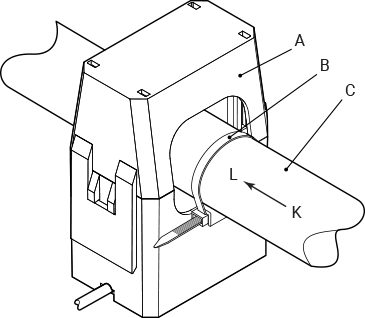
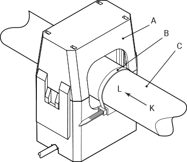
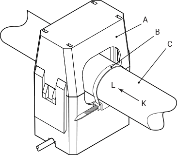
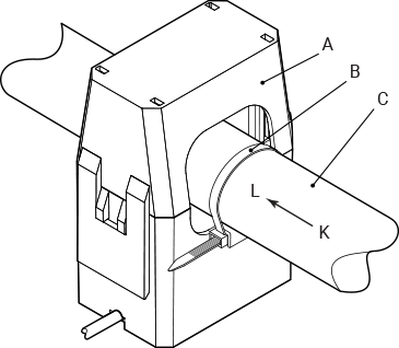
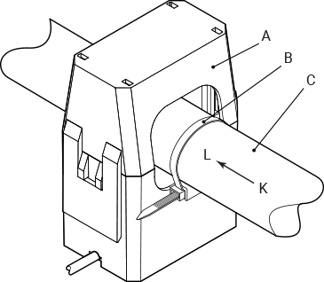
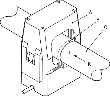
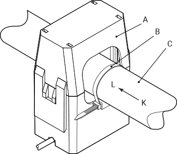
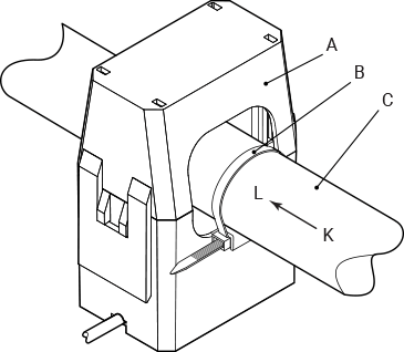
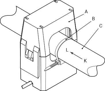
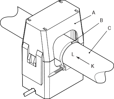
Installation

Legend
| A | Shelly CT400A | 
| B | Cable tie (another one on the opposite side) | 
| C | Primary conductor | 
Compliance
- Declaration of conformity 
