CT 120A

Device identification
Device name: CT 120A
Manufacturer model: CT313
Short description
CT 120A (The Device) is a split-core current transformer for the Shelly Pro 3EM energy meter.
Features
Snap-on, screwless mounting system
Connector to Shelly Pro 3EM
2-pin MX3.0-2x1Y connector
Safety features
Secondary winding high voltage protection
Specifications
Type | Value |
|---|---|
Physical | |
Size (HxWxD): | 45x40x36 ±0.5 mm / 1.77x1.57x1.42 ±0.02 in (without the cable) |
Weight: | 75 ±1 g / 2.65 ±0.05 oz (with the cable) |
Conductor aperture: | Ø15 mm / Ø0.6 in |
Core: | Ferite |
Shell material: | Plastic |
Color: | White |
Environmental | |
Ambient temperature: | -10 °C to 50 °C / 14 °F to 122 °F |
Humidity: | 0 % to 80 % RH |
Max. altitude: | 2000 m / 6562 ft |
Electrical | |
Primary/secondary current ratio: | 3000/1 |
Rated max. primary current: | 120 A |
Electrical strength: | 3000 VAC, 60 sec |
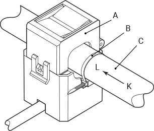
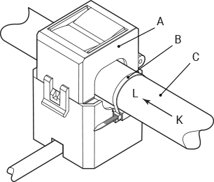
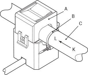
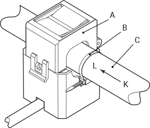
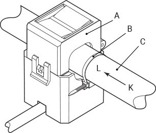
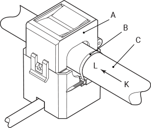
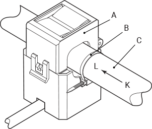
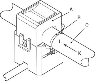
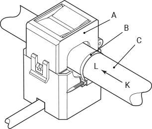
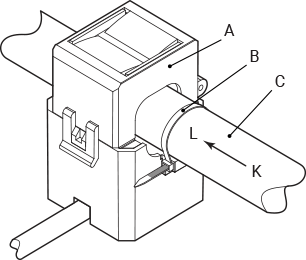
Installation

Legend
A | Shelly CT 120A |
B | Cable tie (another one on the opposite side) |
C | Primary conductor |
Compliance
Declaration of conformity