Ръководство за употреба и безопасност (CT 120A)
Идентификация на устройството
Име на устройството: CT 120A
Модел на производителя: CT313
Кратко описание
CT 120A (Устройството) е токов трансформатор с разделено ядро за електромера Shelly Pro 3EM.
Характеристики
Система за безвинтов монтаж със закрепване
Конектор към Shelly Pro 3EM
2-пинов конектор MX3.0-2x1Y
Характеристики за безопасност
Защита на вторичната намотка от високо напрежение
Спецификации
Физически размери
Размери (ВxШxД): 45x40x36 ±0.5 мм (без кабела)
Тегло: 75 ±1 г / 2.65 ±0.05 унции (с кабела)
Отвор на проводника: Ø15 мм / Ø0.6 инча
Сърцевина: Ферит
Материал на корпуса: Пластмаса
Цвят: Бял
Околна среда
Температура на околната среда: -10 °C до 50 °C
Влажност: 0 % до 80 % относителна влажност
Максимална надморска височина: 2000 м
Електрически характеристики
Съотношение първичен/вторичен ток: 3000/1
Номинален максимален първичен ток: 120 A
Електрическа якост: 3000 V~, 60 сек
Инсталиране

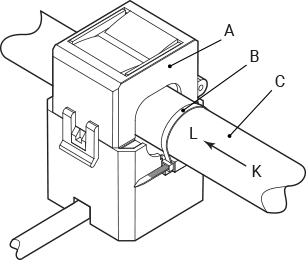
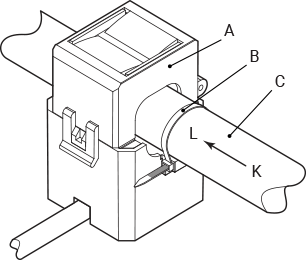
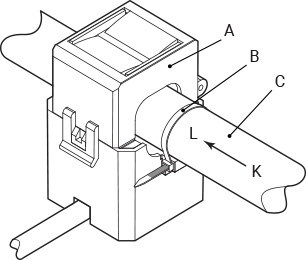
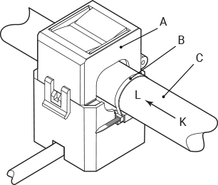
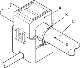
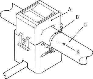
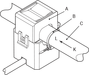
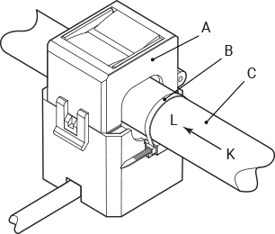
Легенда
A: Shelly CT 120A
B: Кабелна връзка (още една от противоположната страна)
C: Основен проводник