Ръководство за употреба и безопасност (Shelly Pro 3EM Switch Add-on)
За безопасна и правилна употреба следвайте тези инструкции. Запазете ги за бъдеща справка.
Допълнителен ключ за Shelly Pro 3EM
Наричан в този документ "Устройството"
Този знак обозначава информация, свързана с безопасност.
Този знак обозначава важна бележка.
Информация за безопасност
За да избегнете възможна вреда, прочетете и следвайте тези инструкции.
ПРЕДУПРЕЖДЕНИЕ!
Риск от токов удар. Монтажът на Устройството към електрическата мрежа трябва да се извърши внимателно от квалифициран електротехник.
Преди да инсталирате Устройството, изключете прекъсвачите. Използвайте подходящо тестово Устройство, за да се уверите, че няма напрежение върху проводниците, които искате да свържете. Когато сте сигурни, че няма напрежение, продължете с инсталирането.
Преди да правите каквито и да е промени по връзките, уверете се, че на терминалите на Устройството няма напрежение.
ВНИМАНИЕ!
Ако инсталирате допълнителния ключ Shelly Pro 3EM Switch Add-on към устройство Shelly Pro 3EM, което вече е свързано към електрическата мрежа, проверете дали предпазителите са изключени и дали няма напрежение на клемите на устройството, към което свързвате добавката Shelly Pro 3EM Switch Add-on. Това може да се направи с фазов тестер или мултиметър. Когато сте сигурни, че няма напрежение, можете да пристъпите към инсталиране на Shelly Pro 3EM Switch Add-on.
Свързвайте Устройството само към електрическа мрежа и уреди, които отговарят на всички приложими разпоредби. Късо съединение в електрическата мрежа или който и да е уред, свързан към Устройството, може да причини пожар, материални щети и токов удар.
Свързвайте Устройството само по начина, показан в тези инструкции. Всеки друг метод може да причини повреда и/или нараняване.
Не използвайте Устройството, ако то показва признаци на повреда или дефект.
Не се опитвайте да поправяте Устройството сами.
Устройството е предназначено само за употреба на закрито.
Описание на устройството
Shelly Pro 3EM Add-on е галванично изолиран ключ, който разширява функциите на Shelly Pro 3EM, позволявайки управление на контактори или други електрически устройства.
Инструкции за монтаж
ЗАБЕЛЕЖКА
Препоръчваме използването на плътни едножилни проводници или усукани проводници с накрайници. Изолацията на проводниците трябва да бъде устойчива на висока температура – не по-малко от PVC T105°C (221°F).
При свързване на проводници към клемите на устройството, спазвайте изискванията за напречно сечение и дължина на оголената част. Не свързвайте няколко проводника към една и съща клема.

Fig. 1
Легенда:
Фиг. 1
Клеми:
O: Изходна клема на релето
I: Входна клема на релето
Проводници:
L: Фаза (110 - 240 VAC)
N: Нула
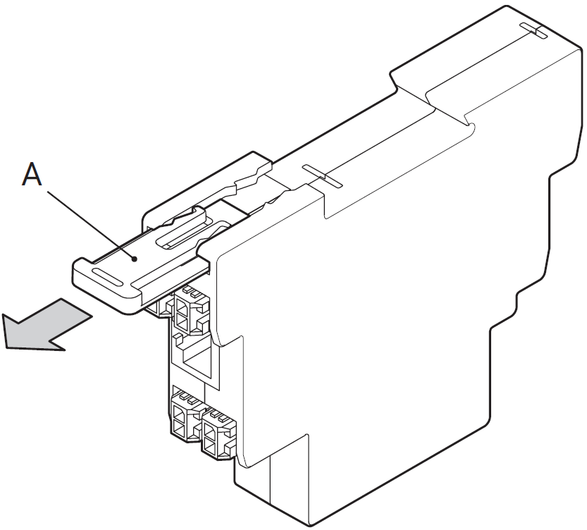
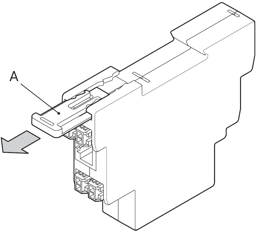
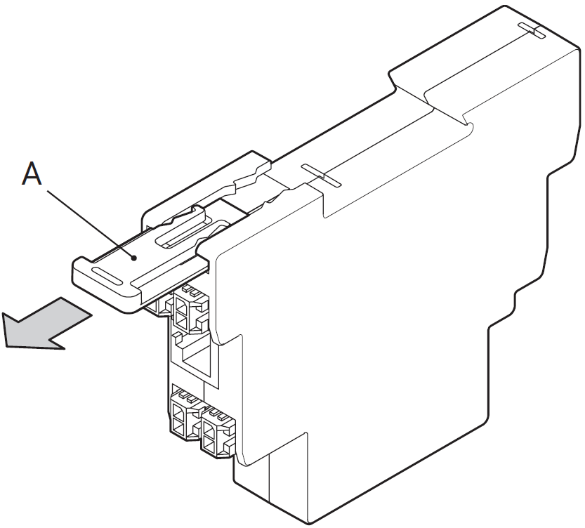
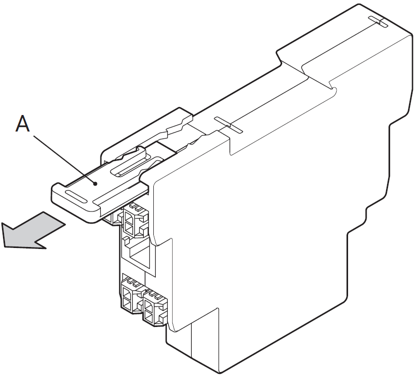
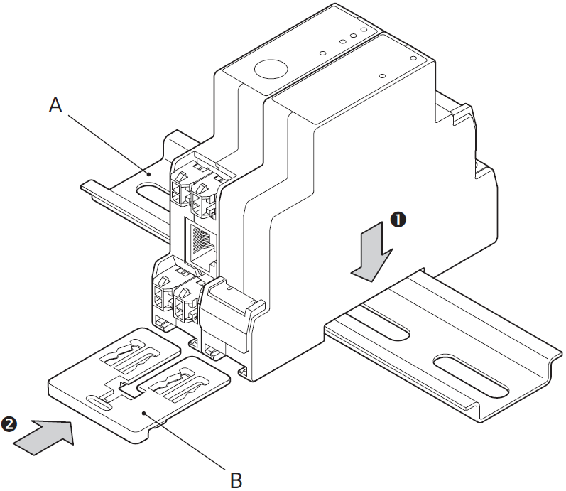
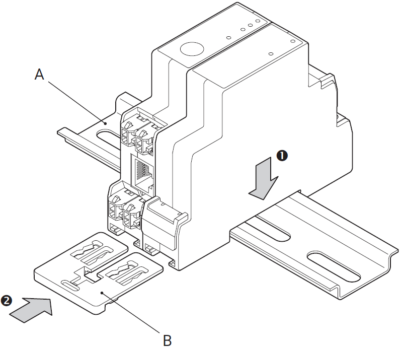
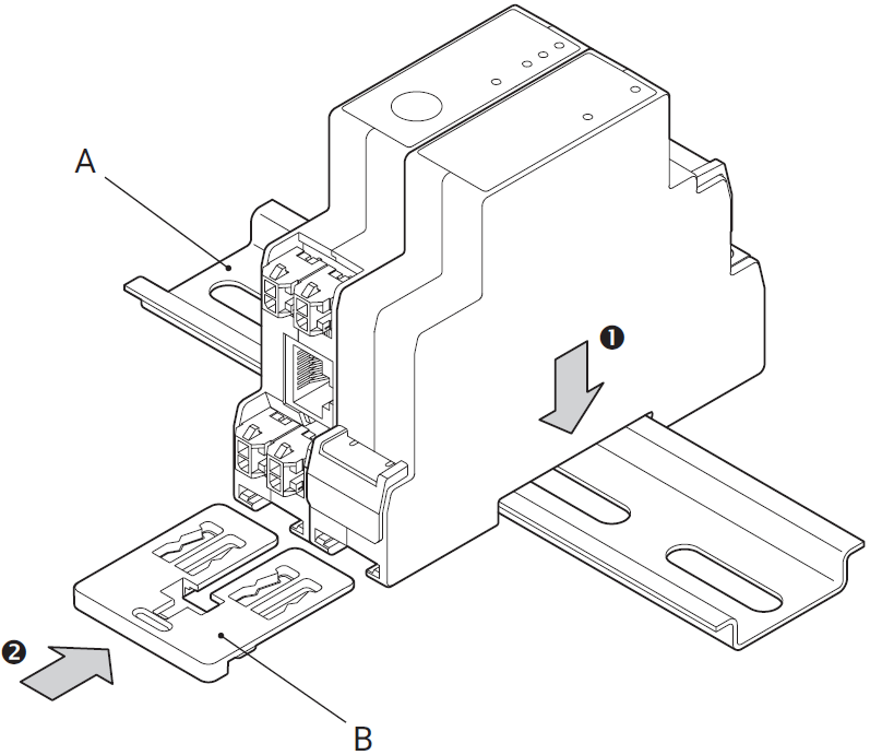
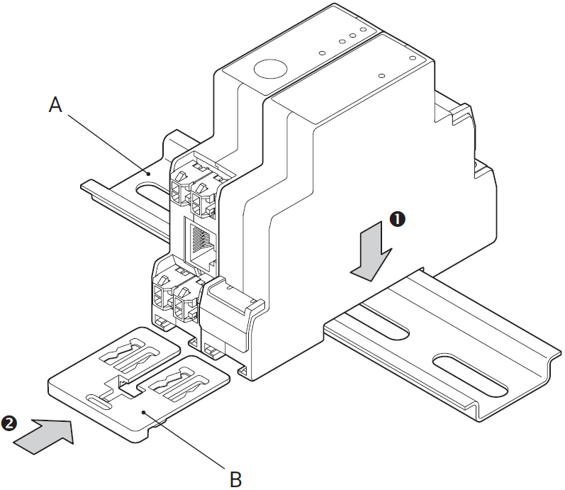
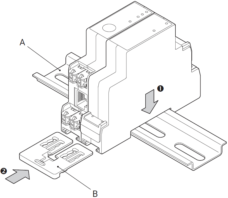
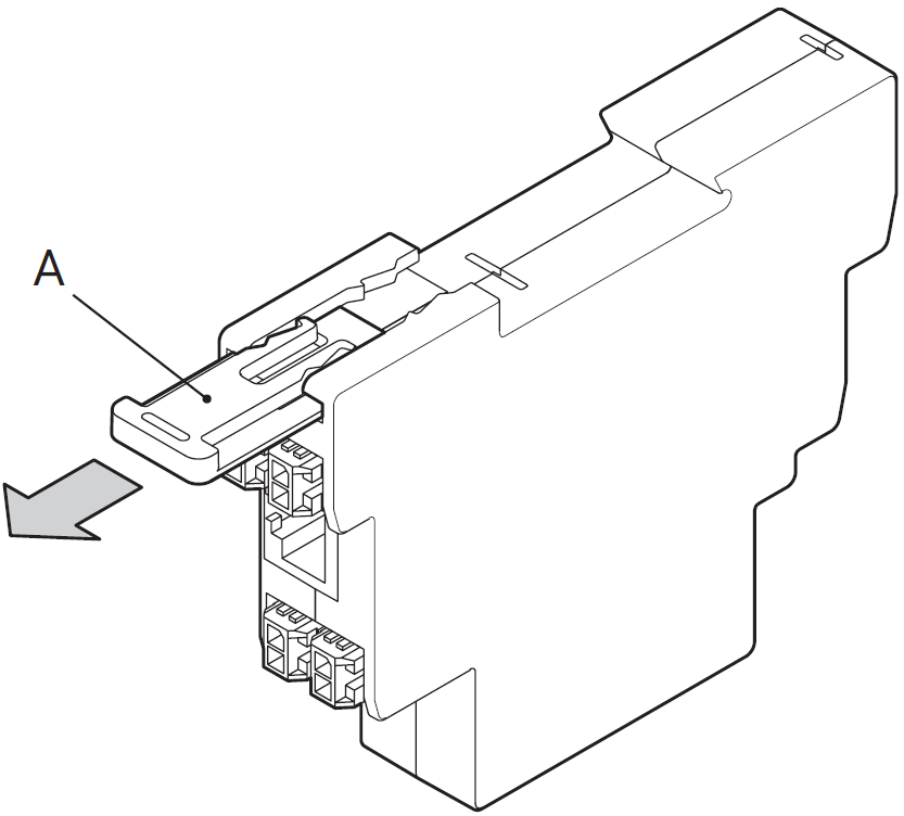
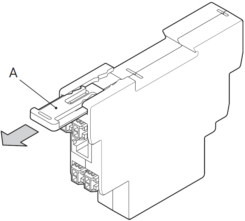
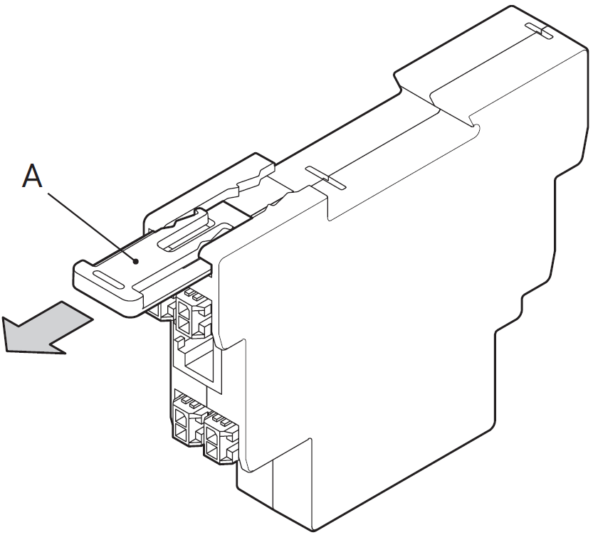
Фиг. 2 | Фиг. 3 | Фиг. 4 |
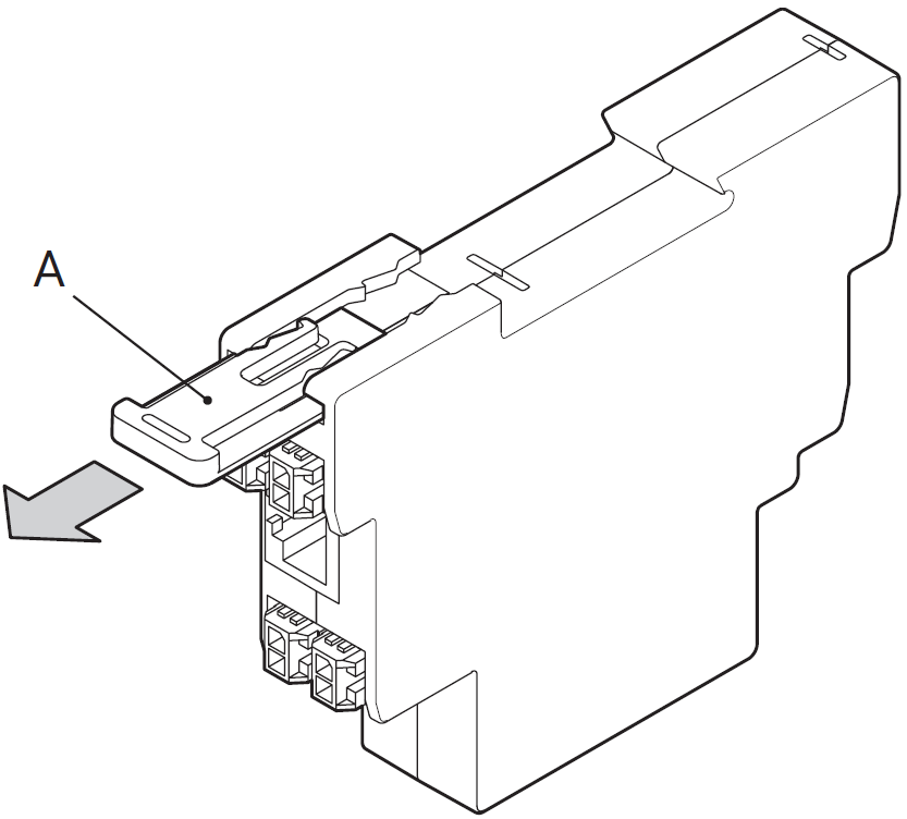
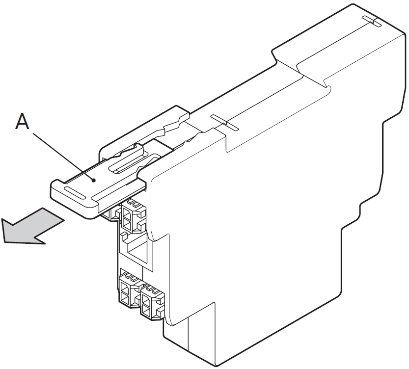
Свалете монтажната скоба (A) на Shelly Pro 3 EM, както е показано на Фиг. 2.
Прикрепете допълнителния ключ Shelly Pro 3EM към устройството Shelly Pro 3EM, както е показано на Фиг. 3.
Внимавайте много да не огънете щифтовете на хедъра на устройството Фиг. 3 (A), когато ги поставяте в конектора на хедъра на устройството Shelly Pro 3EM Фиг. 3 (B).
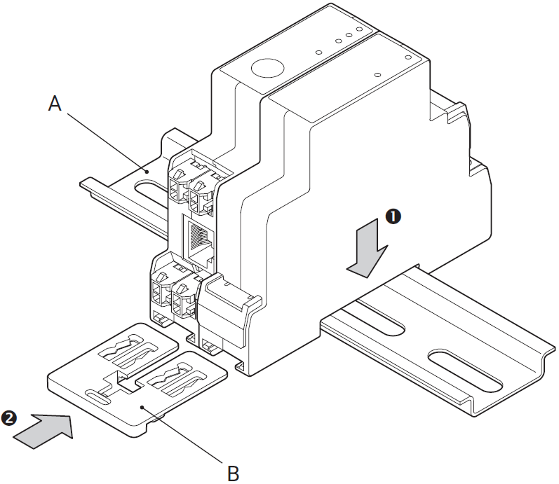
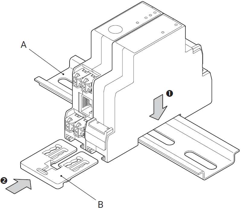
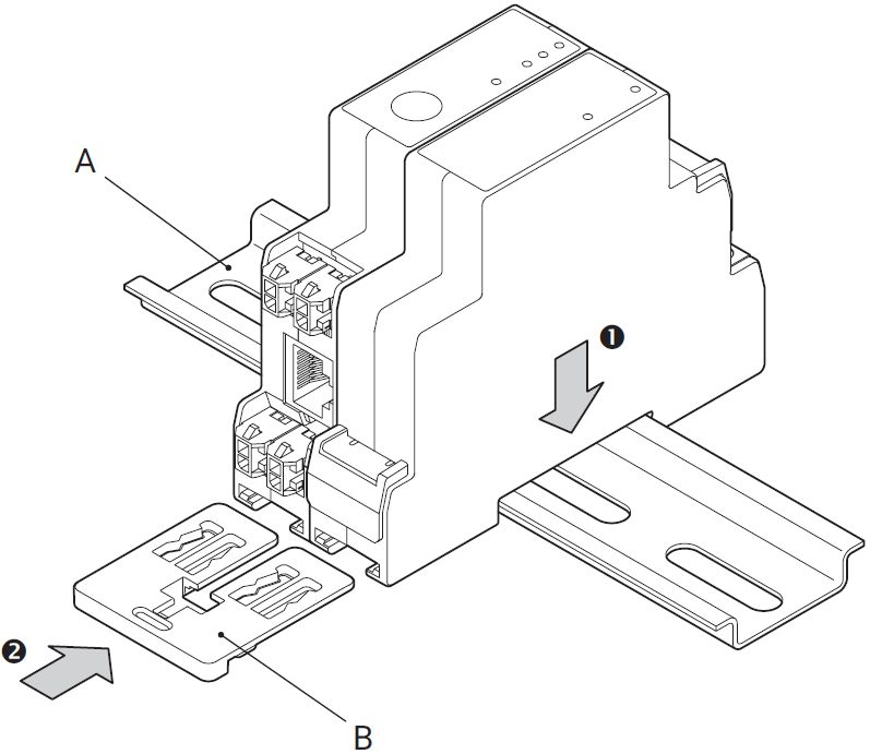
Поставете Shelly Pro 3EM с прикачения ключ Shelly Switch Add-on на DIN шината Фиг. 4 (A) и поставете доставената двойна монтажна скоба Фиг. 4 (B), за да фиксирате приложените устройства към DIN шината.
Сега можете да пристъпите към свързване на кабелите, както е показано на Фиг. 1.
Свържете устройството, като използвате плътни едножилни кабели.
Свържете веригата на товара към клема О и нулата. Свържете клемата I към прекъсвача на електрическата верига.
Ако устройството Shelly Pro 3EM, към което е прикрепена добавката за превключвател Shelly Pro 3EM, не е било свързано към електрическата мрежа, инсталирайте го, като следвате неговото ръководство за употреба и безопасност.
Светодиодна индикация
Захранване (червен): Светва, когато захранването е свързано.
Изход (червен): Светва, когато контактът на изходното реле е затворен.
Спецификации
Монтаж: на DIN шина, прикрепен към Shelly Pro 3EM
Размери (HxWxD): 94x19x69 / 3,70x0,75x2,71 инча
Температура на околната среда: -20 °C до 40 °C / -5 °F до 105 °F
Максимална надморска височина: 2000 m / 6562 ft
Максимален въртящ момент на винтовите клеми: 0,4 Nm / 3,54 lbin
Сечение на проводника: 0,5 до 2,5 mm² / 20 до 14 AWG
Дължина на лентата на проводника: 6 до 7 mm / 0,24 до 0,28 in
Захранване: 3,3 VDC и 12 VDC (от устройството Shelly Pro 3EM)
Консумация на електроенергия: < 1 W
Максимално комутационно напрежение AC: 240 V
Максимално превключващо напрежение DC: 30 V
Максимален ток на превключване: 2 A
Безпотенциален контакт: Да
Отстраняване на неизправности
В случай че срещнете проблеми с инсталирането или работата на Устройството, страница в базата знания https://kb.shelly.cloud/knowledge-base/shelly-pro-3em-switch-add-on .
Декларация за съответствие
С настоящото Шелли Юръп ЕООД декларира, че радиооборудването тип Shelly Pro 3ЕМ Switch Add-on е в съответствие с Директива 2014/35/ЕС, 2014/30/ЕС, 2011/65/ЕС. Пълният текст на ЕС декларацията за съответствие е достъпен на следния интернет адрес: https://shelly.link/Pro3EM_DoC .
Изхвърляне и рециклиране
Не изхвърляйте продукта в битови отпадъци. Рециклирайте продукта, за да предотвратите щети на околната среда и здравето и за насърчаване на опазването на ресурсите. Изхвърлете продукта на подходящо място за събиране на отпадъци на ваша отговорност.
Препродавачите, от които е закупено Устройството, са длъжни да приемат отпадъци от електрическо и електронно оборудване (ОЕЕО) безплатно за правилното обезвреждане.
Някои електронни продукти могат да съхраняват лични данни. Потребителят носи отговорност за изтриването на тези данни преди изхвърлянето на Устройството. За изтриване нулирайте устройството до фабричните настройки.
Производител
Шелли Юръп ЕООД
Адрес: бул. Черни връх 51, бул. 3, ет. 2-3, 1407 София, България, Тел. +359 2 988 7435, Електронна поща: support@shelly.cloud, Официален сайт: https://www.shelly.com
Промените в информацията за контакт се публикуват от производителя на официалния уебсайт.
Всички права върху търговската марка Shelly® и други интелектуални права, свързани с това устройство, принадлежат на Shelly Europe Ltd.