Ръководство за употреба и безопасност (Shelly Wall Display X2)
Контролен панел за интелигентен дом
Наричано в този документ „Устройството“
⚠Този символ указва информация за безопасност.
ⓘТози символ указва важна забележка.
Информация за безопасност
За безопасна и правилна употреба прочетете това ръководство и всички други документи, придружаващи този продукт. Съхранявайте ги за бъдещи справки. Неспазването на инсталационните процедури може да доведе до неправилно функциониране, опасност за здравето и живота, нарушение на закона и/или отказ от правни и търговски гаранции (ако има такива). Шелли Юръп ЕООД не носи отговорност за каквито и да било загуби или щети в случай на неправилен монтаж или неправилна работа на това Устройство поради неспазване на инструкциите за употреба и безопасност в това ръководство.
⚠ПРЕДУПРЕЖДЕНИЕ! Опасност от токов удар. Монтажът на Устройството към електрическата мрежа трябва да се извърши внимателно от квалифициран електротехник.
⚠ПРЕДУПРЕЖДЕНИЕ! Преди да инсталирате Устройството, изключете прекъсвачите. Използвайте подходящо тестово Устройство, за да се уверите, че върху проводниците, които искате да свържете, няма напрежение. Когато сте сигурни, че няма напрежение, пристъпете към инсталирането.
⚠ВНИМАНИЕ! Свързвайте Устройството само към електрическа мрежа и уреди, които отговарят на всички приложими разпоредби. Късо съединение в електрическата мрежа или в някой уред, свързан с Устройството, може да причини пожар, материални щети и токов удар.
⚠ВНИМАНИЕ! Устройството може да се свързва и управлява само към електрически вериги и уреди, които отговарят на приложимите стандарти и норми за безопасност.
⚠ВНИМАНИЕ! Не свързвайте Устройството към уреди, които надвишават посочения максимален електрически товар.
⚠ВНИМАНИЕ! Свързвайте Устройството само по начина, показан в тези инструкции. Всеки друг метод може да доведе до повреда и/или нараняване.
⚠ВНИМАНИЕ! Устройството трябва да бъде обезопасено с кабелен защитен превключвател в съответствие с EN60898-1 (характеристика на изключване B или C, макс. 16A номинален ток, мин. 6 kA степен на прекъсване, клас на ограничаване на енергията 3).
⚠ВНИМАНИЕ! Не използвайте Устройството, ако то показва каквито и да било признаци на повреда или дефект.
⚠ВНИМАНИЕ! Не се опитвайте да ремонтирате Устройството сами.
⚠ВНИМАНИЕ! Устройството е предназначено само за употреба на закрито.
⚠ВНИМАНИЕ! Пазете Устройството от замърсяване и влага.
⚠ВНИМАНИЕ! Не позволявайте на деца да си играят с бутоните/превключвателите, свързани към Устройството. Съхранявайте устройствата (мобилни телефони, таблети, персонални компютри) за дистанционно управление на Shelly далеч от деца.
ⓘУстройството се доставя с фабрично инсталиран фърмуер. За да го поддържа актуален и сигурен, Шели Юръп ЕООД предоставя безплатно най-новите актуализации на фърмуера. Получете достъп до актуализациите чрез вградения уеб интерфейс или чрез мобилното приложение Shelly Smart Control. Инсталирането на актуализациите на фърмуера е отговорност на потребителя.
Шелли Юръп ЕООД не носи отговорност за несъответствие на Устройството, причинено от това, че потребителят не е инсталирал своевременно наличните актуализации.
Описание на продукта
Shelly Wall Display X2 е контролен панел за умен дом с 6,95-инчов цветен дисплей и функция за превключване на вериги за натоварване.
Устройството има вграден уеб интерфейс за наблюдение, контрол и регулиране на настройките му. Можете да отворите уеб интерфейса, като въведете IP адреса на Устройството в браузъра си, когато е достъпен от същата мрежа, към която е свързано Устройството.
Устройството може да получи достъп и да взаимодейства с други умни устройства или системи за автоматизация, ако те са в същата мрежова инфраструктура. Шелли Юръп ЕООД Предоставя API за устройствата, тяхната интеграция и управление в облака. За повече информация посетете:
https://shelly-api-docs.shelly.cloud
Инструкции за инсталиране
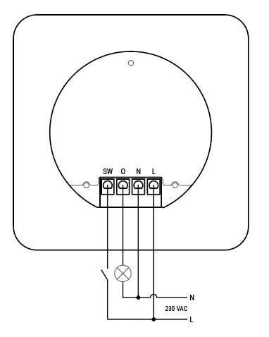
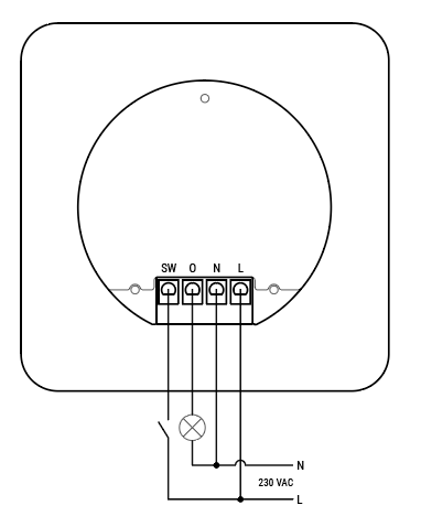
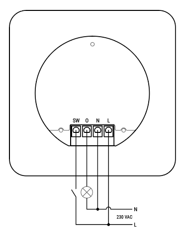
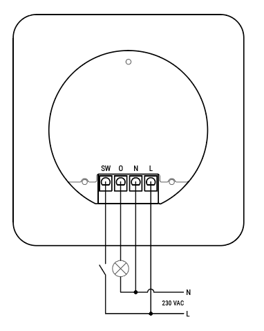
Схема на свързване

Фиг. 1
Легенда
Клеми на Устройството
• SW: Входен терминал на превключвателя
• O: Изходен терминал
• N: Нулев терминал
• L: Фазов терминал (230 V~, 50/60 Hz)
Проводници
• N: Нулев проводник
• L: Фазов проводник (230 V~, 50/60 Hz)
ⓘЗа свързване на Устройството препоръчваме да използвате плътни едножилни проводници или многожични проводници с накрайници. Проводниците трябва да имат изолация с повишена устойчивост на топлина, не по-малка от PVC T105°C (221°F).
ⓘПри свързване на проводници към клемите на Устройството вземете предвид определеното сечение на проводника и дължината на оголения проводник. Не свързвайте няколко проводника в една клема.
ⓘ От съображения за сигурност, след като успешно свържете Устройството към локалната Wi-Fi мрежа, препоръчваме да деактивирате или защитите с парола AP (точката за достъп) на Устройството.

Фиг. 2
Свържете проводниците към захранващия модул (фиг. 2 А), както е показано на електрическата схема (фиг. 1):
a. Свържете проводника под напрежение към терминал L на Устройството.
b. Свържете проводника на нулата към терминал N.
c. Свържете товара към изходния терминал O и неутралния проводник.
d. Свържете превключвател или бутон към терминал SW и проводника на
фазата.

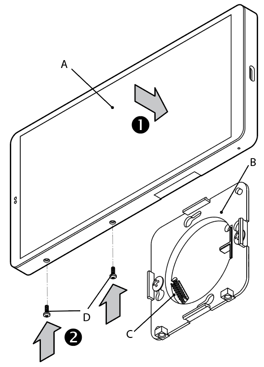
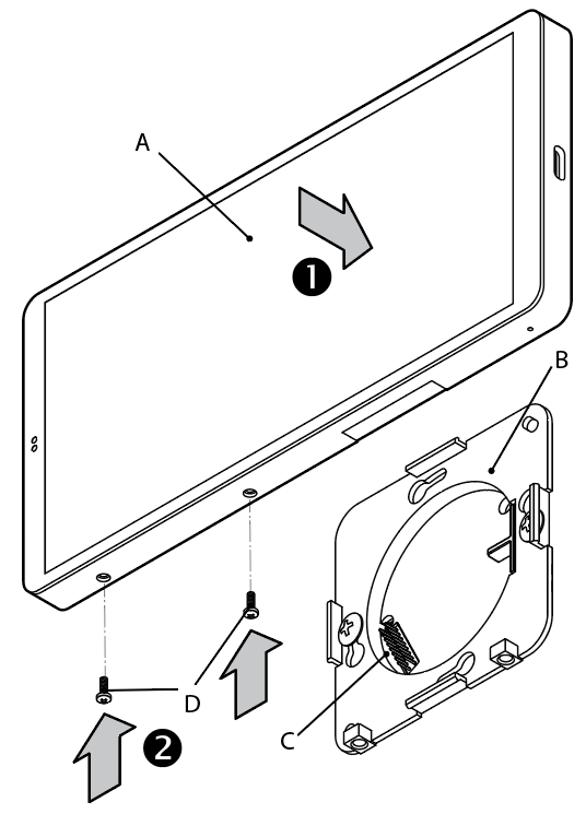
Фиг. 3
Монтирайте захранващия модул (фиг. 3 А):
a. Поставете захранващия модул с кабелите в стенната кутия (фиг. 3 B).
b. Закрепете модула с два винта към стенната кутия (фиг. 3 C).
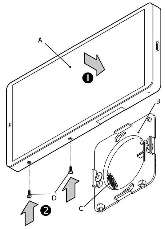
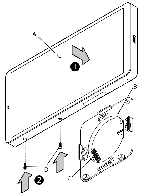
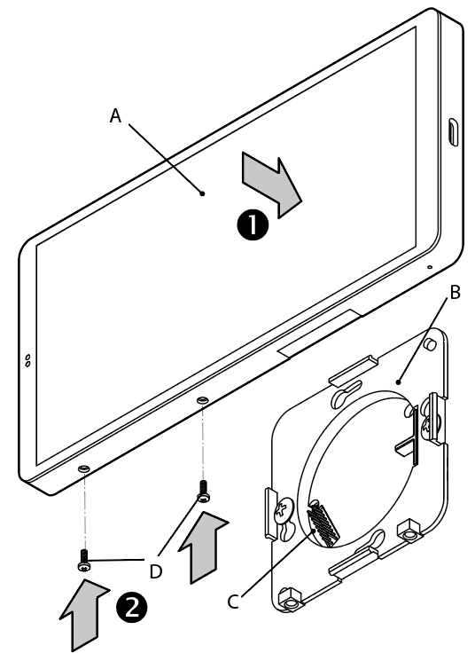
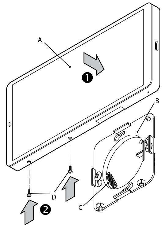
ⓘВнимавайте да не огъвате щифтовете на хедъра (фиг. 4 C), когато ги поставяте в хедъра на дисплейния модул. Вижте стъпка 3в.

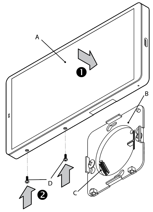
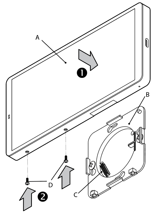
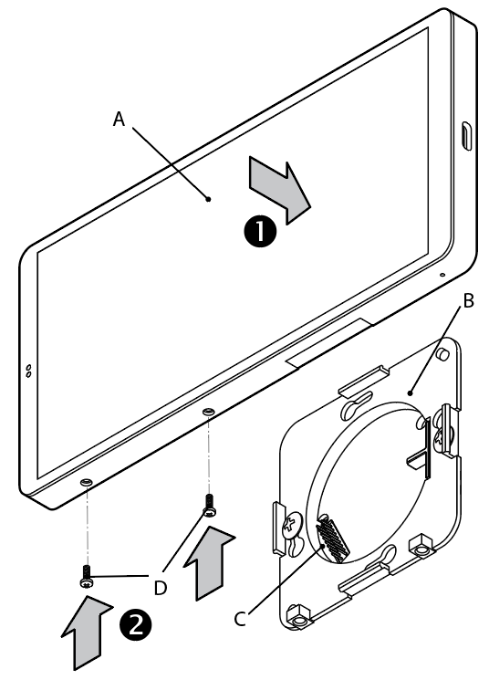
Фиг. 4
Монтирайте дисплейния модул (фиг. 4 А)
a. Подравнете женския извод на дисплея с изводите на захранващия модул (фиг. 4 C).
b. Натиснете дисплея към захранващия модул, докато чуете щракване.
c. Поставете двата винта от комплекта в отворите от долната страна на дисплея (фиг. 4 D).
d. Затегнете винтовете, за се избегне отделяне на дисплея от модула.
ⓘMожете да захранвате Устройството също и през неговия USB Type-C порт. Имайте предвид, че ако Устройството се захранва през USB, не можете да го използвате като реле.
Спецификации
Физически
Размер (HxWxD): 86x173x33 mm
Тегло: 256 g
Сензорен екран: 5-точков капацитивен екран
Максимален въртящ момент на затягане на терминалите: 0,4 Nm / 3,5 lbin
Сечение на проводника: 0,2 до 2,5 mm² / 24 до 14 AWG (плътни, многожични и с накрайници)
Дължина на оголения проводник: 6 до 7 mm / 0,24 до 0,28 in
Монтаж: Стенна конзола / вградена кутия
Материал на корпуса: Пластмаса, алуминий, стъкло
Цвят на корпуса:
Черен
Бял
Цвят на конектора: Черен
Говорител: 0.8W*1
USB порт: Type-C
Околна среда
Работна температура на околната среда: -20°C до 40°C
Влажност: 30% до 70% RH
Максимална надморска височина: 2000 м
Електрически
Захранване: 230 V~, 50/60Hz
Консумация на енергия: < 1 W
USB Type-C захранване: 5 V ⎓, 1 A
Параметри на изходните вериги
Максимално напрежение на превключване: 230 V~
Максимален ток на превключване: 5 A
Сензори, измервателни уреди
Вътрешен температурен сензор: Не
Сензор за околна температура: Да
Сензор за влажност: Да
Сензор за светлина: Да
Микрофон: Да
G-сензор: Да
Сензор за близост: Да
Радио
Wi-Fi
Протокол: 802.11 b/g/n
Радиочестотна лента: 2412-2472 МHz
Макс. радиочестотна мощност: <20 dBm
Обхват: До 50 м на открито, до 30 м на закрито (в зависимост от местните условия)
Bluetooth
Протокол: 4.2
Радиочестотна лента: 2402-2480 MHz
Макс. радиочестотна мощност: <4 dBm
Обхват: До 30 м на открито, до 10 м на закрито (в зависимост от местните условия)
Микроконтролер
Процесор: SC7731E, Quad Core A7 1.3GHz
RAM: 1 GB
Флаш памет: 4 GB
Система: Android 8.1
Възможности на фърмуера
Графици: 20
Уебхукс (действия с URL): 20 с по 5 URL адреса на уебхук
BLE гейтуей: Да
Писане на скриптове: Не
MQTT: Да
Присъединяване на Устройството към Shelly Cloud
Устройството може да бъде наблюдавано, контролирано и настройвано чрез нашата услуга за домашна автоматизация Shelly Cloud. Можете да използвате услугата чрез нашето мобилно приложение за Android, iOS или Harmony OS или чрез всеки интернет браузър на адрес https://control.shelly.cloud/ .
Ако решите да използвате Устройството с приложението и услугата Shelly Cloud, можете да намерите инструкции за свързване на Устройството към Cloud и управлението му от  приложението Shelly в ръководството за приложението: https://shelly.link/app-guide . Мобилното приложение Shelly и услугата Shelly Cloud не са условия за правилното функциониране на Устройството. Това Устройство може да се използва самостоятелно или с различни други платформи за домашна автоматизация.
Отстраняване на неизправности
В случай че срещнете проблеми с инсталирането или работата на Устройството, проверете страницата на базата знания: https://shelly.link/wall_display_x2
Декларация за съответствие
С настоящото Шелли Юръп ЕООД декларира, че радиооборудването тип Shelly Wall Display X2 е в съответствие с Директива 2014/53/ЕС, 2014/35/ЕС, 2014/30/ЕС, 2011/65/ЕС. Пълният текст на ЕС декларацията за съответствие е достъпен на следния интернет адрес: https://shelly.link/wall_display_x2_DoC
Изхвърляне и рециклиране
Това се отнася до отпадъците от електрическо и електронно оборудване. В ЕС, САЩ и други страни се прилага разделно събиране на отпадъците. Този символ върху Устройството или в придружаващата го литература показва че не трябва да се изхвърлят в ежедневните отпадъци.
Устройството трябва да се рециклира, за да се избегнат възможни вреди за околната среда или човешкото здраве от неконтролирано изхвърляне на отпадъци и да се насърчи повторното използване на материали и ресурси. Ваша отговорност е да изхвърлите Устройството отделно от общите битови отпадъци, когато то вече е неизползваемо.
Производител: Шелли Юръп ЕООД
Адрес: бул. „Черни връх“ 51, бл. 3, ет. 2-3, 1407 София, България
Тел: +359 2 988 7435
Електронна поща: support@shelly.cloud
Официален уебсайт: https://www.shelly.com 
Промените в информацията за контакт се публикуват от производителя на официалния уебсайт.
Всички права върху търговската марка Shelly® и други интелектуални права, свързани с това Устройство, принадлежат на Шелли Юръп ЕООД.