Ръководство за употреба и безопасност (AZ Plug)
Умен Wi-Fi и Bluetooth щепсел
Лесно настройване с Amazon Alexa
Наричан в този документ "Устройството"
За безопасна и правилна употреба следвайте тези инструкции. Запазете ги за бъдеща справка.
Този знак обозначава информация, свързана с безопасност.
Този знак обозначава важна бележка.
Информация за безопасност
За да избегнете възможна вреда, прочетете и следвайте тези инструкции.
ПРЕДУПРЕЖДЕНИЕ!
Не използвайте устройството за захранване или контрол на състоянието на включване/изключване на животоподдържащо оборудване.
Не използвайте Устройството за управление на оборудване, когато неточното определяне на времето или случайните команди за включване/изключване могат да бъдат опасни. Примери за такова оборудване са сауни, слънчеви лампи, електрически одеяла и др.
ВНИМАНИЕ!
Свързвайте Устройството само по начина, показан в тези инструкции. Всеки друг метод може да доведе до повреда и/или нараняване.
Свързвайте Устройството само към електрическа мрежа и уреди, които отговарят на всички приложими разпоредби. Късо съединение в електрическата мрежа или в някой уред, свързан с Устройството, може да причини пожар, материални щети и токов удар.
Устройството може да се свързва и управлява само към електрически вериги и уреди, които отговарят на приложимите стандарти и норми за безопасност.
Не свързвайте Устройството към уреди, които надвишават посочения максимален електрически товар.
Не използвайте Устройството, ако то показва каквито и да било признаци на повреда или дефект.
Незабавно изключете Устройството от електрическия контакт, ако то излъчва дим, издава шум или има необичайна миризма.
Не се опитвайте да ремонтирате Устройството сами.
Веригата, в която работи Устройството, трябва да бъде обезопасена с кабелен защитен превключвател в съответствие с EN60898-1 (характеристика на изключване B или C, макс. 16 A номинален ток, мин. 6 kA степен на прекъсване, клас на ограничаване на енергията 3).
Устройството е предназначено само за употреба на закрито.
Не използвайте Устройството във влажна среда. Не допускайте устройството да се намокри.
Не включвайте Устройствата едно към друго.
Не включвайте в Устройството никакво оборудване, което се включва директно към електрическата мрежа. Примери за оборудване, което се включва директно в електрическата мрежа, са трансформатори, зареждащи батерии и др.
Не използвайте устройството, ако то е покрито.
Не позволявайте на деца да си играят с бутоните/превключвателите, свързани към Устройството. Съхранявайте устройствата (мобилни телефони, таблети, персонални компютри) за дистанционно управление на Shelly далеч от деца.
Описание на устройството
Shelly AZ Plug е умен щепсел/контакт с измерване на мощност и защита от прегряване, който позволява дистанционно управление на електрически уреди чрез телефон, таблет, компютър или система за домашна автоматизация. Работи самостоятелно в локална Wi‑Fi мрежа или чрез облачни услуги.

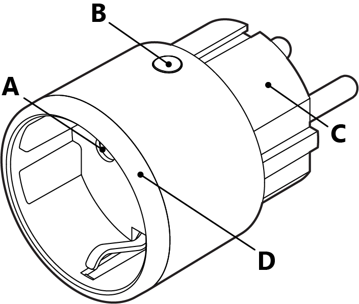
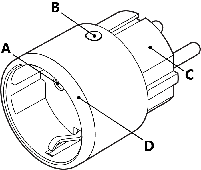
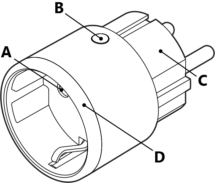
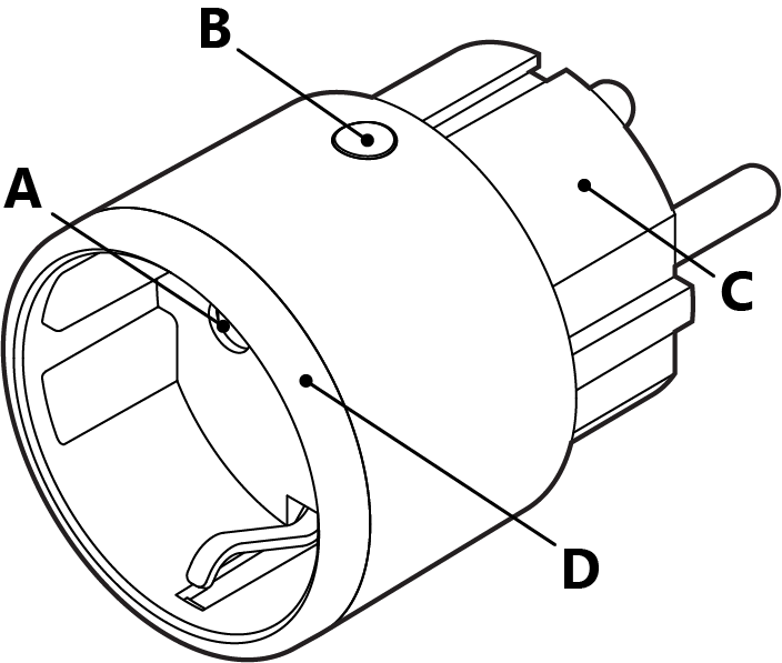
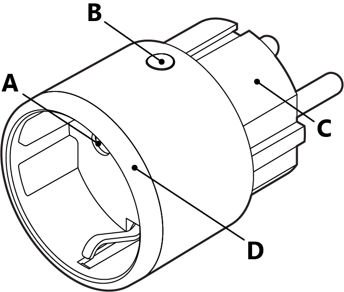
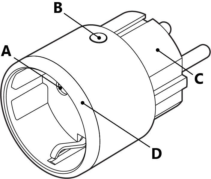
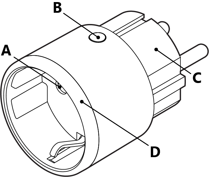
Фиг. 1
Легенда:
A: Гнездо
B: Бутон за управление
C: Щепсел
D: Светодиоден индикатор
Уеб интерфейс
Устройството има вграден уеб интерфейс за наблюдение, управление и настройка. Уеб интерфейсът е достъпен на адрес http://192.168.33.1 при директна връзка към точката за достъп на устройството или на неговия IP адрес при достъп от същата мрежа. За повече информация посетете https://shelly-link/webui-guide.
Фърмуер
Устройството се предлага с фабрично инсталиран фърмуер. Винаги използвайте най-новата версия на фърмуера. Редовно проверявайте за актуализации чрез уеб интерфейса или приложението Shelly Smart Control
API
Устройството може да има достъп и да взаимодейства с други интелигентни устройства или системи за автоматизация, ако те са в една и съща мрежова инфраструктура. Шелли Юръп ЕООД предоставя API за устройствата, тяхната интеграция и облачен контрол. За повече информация посетете https://shelly-api-docs.shelly.cloud .
Лесно настройване с Amazon Alexa
За сигурност, след успешна връзка с Wi‑Fi мрежата, препоръчваме деактивиране или защита с парола на AP режима.
Преди да започнете, уверете се, че разполагате с:
Запазени идентификационни данни за предпочитаната Wi‑Fi мрежа в Amazon профила.
Amazon Alexa Smart Speaker (4-то поколение или по‑нов), свързан към интернет.
Активен акаунт в Shelly Smart Control, свързан с Alexa профила.
Уверете се, че устройството е максимално близо до смарт говорителя и Wi‑Fi рутера.
![]() | ![]() | ![]() |
|---|
Включете AZ Plug в контакт, без да е свързан уред.
LED пръстенът мига синьо – устройството търси Amazon Alexa или други устройства.След няколко минути слушайте гласово потвърждение от устройството.
Следвайте гласовите инструкции за настройка.
След конфигурация свържете уред в щепсела и го управлявайте с глас, приложението Shelly Smart Control или бутон на устройството.
LED индикации
При първо включване:
Синя светлина – устройството търси Alexa или е включен AP режим.
След повторно включване след връзка с Wi‑Fi:
Червена светлина – устройството се опитва да се свърже с Wi‑Fi мрежата.
LED настройки при включване на захранването (On):
Плавна смяна на цвета според потреблението (по подразбиране).
Зелено – 0% от зададения лимит.
Жълто – 50% от лимита.
Червено – 100% от лимита.
Персонализиран цвят.
LED изключен.
LED настройки при изключване (Off):
LED изключен (по подразбиране).
Персонализиран цвят (по подразбиране – червен).
При натискане и задържане на бутона за 3 секунди (само ако е изключен изходът):
Червено мигащо – не е свързан към Wi‑Fi.
Зелено мигащо – свързан към Wi‑Fi, но не и към Shelly Cloud.
Зелено мигащо – свързан към Shelly Cloud.
Можете да деактивирате LED индикациите в настройките на устройството.
Използване на устройството в Shelly Cloud
Устройството може да бъде наблюдавано, управлявано и настройвано чрез нашата услуга за домашна автоматизация Shelly Cloud. Можете да използвате услугата чрез нашето мобилно приложение за Android, iOS или Harmony OS или чрез всеки интернет браузър на адрес https://control.shelly.cloud/ . Ако решите да използвате устройството с приложението и услугата Shelly Cloud, можете да намерите инструкции за свързване на устройството с облака и управлението му от приложението Shelly в ръководството за приложението: https://shelly.link/app-guide . Мобилното приложение Shelly и услугата Shelly Cloud не са предпоставки за правилното функциониране на Устройството. Това Устройство може да се използва самостоятелно или с различни други платформи за домашна автоматизация.
Спецификации
Физически
Размери (ВxШxД): 44×44×70 мм
Тегло: 60 г
Съвместими контакти: CEE 7/1, CEE 7/3 (Schuko) или CEE 7/5
Съвместими щепсели: CEE 7/2, CEE 7/4, CEE 7/7, CEE 7/16, CEE 7/17
Материал корпус: Пластмаса
Цвят: Бял / Черен
Околна среда
Работна температура: –20 °C до 40 °C
Влажност: 30–70 % RH
Макс. надморска височина: 2000 м
Температура при горене: 750 °C
Степен на замърсяване: 2
Изисква ли принудително охлаждане: Не
Клас на защита: IP 20
Електрически
Захранване: 220–230 V~ 50/60 Hz
Консумация: <1 W
Импулсно напрежение: 2500 V
Изходни характеристики
Макс. превключващо напрежение: 230 V~
Макс. превключващ ток: 12 A
Макс. изходна мощност: 2500 W (с резистивни товари)
Живот на реле: 10 000 цикъла
Пренапреженова категория: II
Тип на работа: непрекъснат (S1)
Тип превключване: еднопосочен SPNO
Тип изключване на веригата: микро
Сензори, измервателни уреди
Вграден температурен сензор: Да
Волтметър (AC): Да
Амперметър (AC): Да
Метрологични функции: Да
Радио
Wi‑Fi: 802.11 b/g/n, 2401–2473 MHz, <10 dBm, до 50 м на открито / 30 м на закрито
Bluetooth: 4.2, 2400–2483.5 MHz, <4 dBm, до 30 м на открито / 10 м на закрито
Микроконтролер
CPU: ESP-Shelly-C38F
Flash: 8 MB
Функции на фърмуера
Уебхукове: 20 с по 5 URL на всеки уебхук
Скриптове: Не
MQTT: Не
Отстраняване на неизправности
В случай че срещнете проблеми с инсталирането или работата на Устройството, проверете неговата база за знания страница: https://shelly.link/AZ_plug.
Декларация за съответствие
С настоящото Шелли Юръп ЕООД декларира, че радиооборудването тип Shelly AZ Plug е в съответствие с Директива 2014/53/ЕС, 2014/35/ЕС, 2014/30/ЕС, 2011/65/ЕС. Пълният текст на ЕС декларацията за съответствие е достъпен на следния интернет адрес: https://shelly.link/AZ_Plug_DoC .
Изхвърляне и рециклиране
Не изхвърляйте продукта в битови отпадъци. Рециклирайте продукта, за да предотвратите щети на околната среда и здравето и за насърчаване на опазването на ресурсите. Изхвърлете продукта на подходящо място за събиране на отпадъци на ваша отговорност.
Препродавачите, от които е закупено Устройството, са длъжни да приемат отпадъци от електрическо и електронно оборудване (ОЕЕО) безплатно за правилното обезвреждане.
Някои електронни продукти могат да съхраняват лични данни. Потребителят носи отговорност за изтриването на тези данни преди изхвърлянето на Устройството. За изтриване нулирайте устройството до фабричните настройки.
Производител
Шелли Юръп ЕООД
Адрес: бул. Черни връх 51, бул. 3, ет. 2-3, 1407 София, България, Тел. +359 2 988 7435, Електронна поща: support@shelly.cloud, Официален сайт: https://www.shelly.com
Промените в информацията за контакт се публикуват от производителя на официалния уебсайт.
Всички права върху търговската марка Shelly® и други интелектуални права, свързани с това устройство, принадлежат на Shelly Europe Ltd.


