Ръководство за употреба и безопасност (Shelly Power Strip 4 Gen4)
Shelly Power Strip 4 Gen4
Интелигентен разклонител с Wi-Fi, Bluetooth и Zigbee
Наричан в този документ "Устройството".
Този знак указва информация за безопасност.
Този знак указва важна забележка.
Информация за безопасност
За безопасна и правилна употреба, прочетете това ръководство и го запазете за бъдеща справка.
ПРЕДУПРЕЖДЕНИЕ!
Не използвайте Устройството за управление на: медицински устройства, които са от съществено значение за поддържане и защита на живота, критично оборудване, при което неочакваното включване/изключване може да бъде опасно.
Единственият начин да се уверите, че в контактите на Устройството няма напрежение, е да изключите захранващата лента от мрежата.
ВНИМАНИЕ!
Не поставяйте Устройството на височина, по-голяма от 2 метра над пода. Ако то падне, може да се повреди.
Работете с Устройството само във вериги, обезопасени с прекъсвач с характеристика на изключване B или C, макс. 16 А номинален ток, минимална стойност на прекъсване 6 kA и клас на енергоограничение 3.
Не докосвайте Устройството, ако то излъчва дим, шуми или има необичайна миризма. Незабавно изключете Устройството от източника на захранване.
Не използвайте Устройството, ако е повредено или дефектно.
Не поправяйте Устройството сами.
Използвайте само на закрито.
Съхранявайте Устройството сухо и чисто.
Не включвайте Устройствата едно към друго.
Не включвайте към Устройството оборудване с директно включване (напр. зарядни устройства, адаптери за захранване, трансформатори за включване).
Не покривайте Устройството по време на работа.
Съхранявайте Устройството и всички средства за дистанционно управление (като мобилни телефони, таблети и персонални компютри) на места, недостъпни за деца, за да се предотврати непреднамерена работа или потенциални опасности.
Описание на продукта
Shelly Power Strip 4 Gen4 е интелигентна лента с 4 гнезда с индивидуално измерване на мощността и защита от прегряване. Можете да я управлявате дистанционно с помощта на телефон, таблет, компютър или система за домашна автоматизация.
Устройството работи самостоятелно в локална Wi-Fi мрежа или чрез облачни услуги. То има мултипротоколен безжичен MCU, който поддържа Matter, Zigbee и Bluetooth за сигурна свързаност в различни платформи за домашна автоматизация.
Уеб интерфейс
Устройството има вграден уеб интерфейс за наблюдение, контрол и регулиране на настройките му. Уеб интерфейсът е достъпен на адрес http://192.168.33.1, когато е свързан директно към точката за достъп на Устройството, или на неговия IP адрес, когато е свързан към същата мрежа.
Фърмуер
ЗАБЕЛЕЖКА
Устройството се доставя с фабрично инсталиран фърмуер. Винаги използвайте най-новата версия на фърмуера. Редовно проверявайте за актуализации.
Получаването на актуализация променя настройките за свързване на Устройството. За да поддържате пълен достъп до тези настройки, добавете Устройството към локалната си Wi-Fi мрежа, след като го свържете за първи път към захранването. За да направите това, отидете в уеб интерфейса на Устройството и изберете Настройки > Wi-Fi.
API
Устройството може да получи достъп и да взаимодейства с други интелигентни устройства или системи за автоматизация, ако те са в същата мрежова инфраструктура. Shelly Europe Ltd. предоставя API за устройствата, тяхната интеграция и управление в облака. За повече информация посетете https://shelly-api-docs.shelly.cloud .
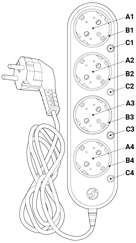
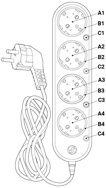
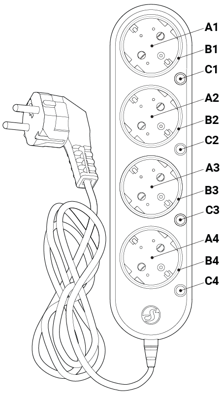
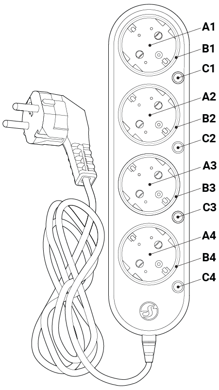
Схема

Легенда
A1-A4: гнезда 1-4
B1-B4: Светодиодни индикаторни пръстени 1-4
C1-C4: Бутони за управление 1-4
Използване на Устройството
ВНИМАНИЕ! Преди да включите уреда в контакт, се уверете, че изходът на контакта е изключен.
ЗАБЕЛЕЖКА
От съображения за сигурност, след като успешно свържете Устройството към местната Wi-Fi мрежа, препоръчваме да деактивирате или защитите с парола AP (точката за достъп) на Устройството.
За да активирате точката за достъп и Bluetooth връзката на Устройството, натиснете и задръжте бутони 1 и 4 за 5 секунди.
Включете Устройството в електрически контакт без свързан към него уред/товар.
Пръстените на светодиодната индикация започват да мигат със синя светлина, което показва, че Устройството е в режим на точка за достъп (AP).
Можете да получите достъп до вградения уеб интерфейс на адрес http://192.168.33.1 в Wi-Fi мрежата, създадена от Устройството (ShellyPStripG4-XXXXXXXXXX), и да го използвате за управление на Устройството.
Сега можете да включите уреда(ите) в гнездото(ата) на Устройството.
За да включите уред, натиснете за кратко бутона за управление на неговия контакт.
Светодиодният пръстен светва. Цветът на светлината се променя в зависимост от консумацията на енергия на уреда.
За да изключите уреда, натиснете за кратко бутона за управление на неговия контакт още веднъж.
Светодиодната индикация се връща в предишното си състояние.
Светодиодна индикация
Светодиодната индикация показва състоянието на свързване на Устройството или използването на енергия, в зависимост от настройките по подразбиране и потребителските настройки.
За повече информация посетете страницата на базата знания на Устройството: https://shelly.link/power_strip_4 Gen4.
Бутони за управление
По един бутон за натискане за всяко гнездо:
Натиснете, за да включите/изключите включения в контакта уред.
Натиснете и задръжте който и да е бутон в продължение на 2 секунди, за да изключите всички 4 контакта на лентата.
Натиснете и задръжте бутони 1 и 4 на лентата:
В продължение на 3 секунди, за да проверите състоянието.
За 5 сек. за рестартиране (активира AP и BT).
За 10 сек. за възстановяване на фабричните настройки.
Shelly Smart Control
Устройството може да бъде наблюдавано, управлявано и настройвано чрез Shelly Smart Control. Можете да получите достъп до услугата чрез приложението Shelly Smart Control или чрез уеб браузър на адрес https://control.shelly.cloud.
Услугата Shelly Smart Control не е задължителна. Това Устройство може да се използва самостоятелно или с други платформи за домашна автоматизация.
За инструкции как да добавите Устройството към Shelly Smart Control и да го управлявате от мобилното приложение, вижте: https://shelly.link/app-guide.
Настройка с Matter
Преди да започнете, уверете се, че имате:
2,4 GHz Wi-Fi мрежа.
Контролер Matter, свързан към същата мрежа.
Сканирайте QR кода на Matter, предоставен с Устройството.
Следвайте инструкциите на мобилното си устройство.
Настройка със Zigbee
Преди да започнете, уверете се, че имате Zigbee координатор, свързан с интернет.
За да превключите от Wi-Fi (Matter) към Zigbee свързаност, натиснете и задръжте бутон 1, след което натиснете бързо 5 пъти бутон 4. Устройството влиза в режим на включване на Zigbee за 3 минути.
Добавете Устройството към вашия Zigbee координатор.
ЗАБЕЛЕЖКА
Ако режимът на включване в Zigbee изтече, натиснете и задръжте бутон 1, след което натиснете бързо три пъти бутон 4, за да го активирате отново.
Докато е в режим Zigbee, ако трябва да използвате отново Устройството с Wi-Fi, натиснете и задръжте Бутони 1 и 4 за 5 секунди, за да активирате неговата точка за достъп.
Получаването на актуализация деактивира превключването на свързаността с бутоните. Можете да откриете как да превключвате свързаността в уеб интерфейса на Устройството, като отидете на Settings (Настройки) > Firmware (Фирмен софтуер).
Спецификации:
Физически
Размер (HxWxD): 42x280x57 mm
Тегло: 480 g
Съвместими контакти: CEE 7/1, CEE 7/3 (тип F / Schuko) или CEE 7/5 (тип E)
Съвместими щепсели: CEE 7/2, CEE 7/4 (тип F / Schuko), CEE 7/7, CEE 7/16 (тип C) или CEE 7/17
Материал на корпуса: Пластмаса
Цвят на корпуса:
Бял
Черно
Цвят на кабела:
Бял
Черен
Захранващия кабел: 1,5 m H05VV-F 3G1,5 mm²
Околна среда
Работна температура на околната среда: -20°C до 40°C
Влажност на въздуха: от 30% до 70% RH
Максимална надморска височина: 2000 m
Температура на нажежаемата жица: 750 °C
Степен на замърсяване: 2
Изисква се принудително охлаждане: Не
Степен на защита: IP 20
Електрически
Захранване: 220 - 240 V~ 50/60 Hz
Консумация на енергия: < 1 W
Максимално импулсно издръжливо: 2500 V
Номинални стойности на изходните вериги
Максимално напрежение на превключване: 240 V~
Номинален изходен ток: 16 A общо между всички 4 гнезда
Максимална изходна мощност: 3680 W общо между всички 4 гнезда (само резистивен товар)
Максимален ток на превключване: 12 A за всеки отделен контакт
Максимална изходна мощност: 2760 W за всеки отделен контакт (само при резистивен товар)
Брой цикли на превключване: 10000
Категория на пренапрежение: II
Сензори, измервателни уреди
Сензор за вътрешна температура: Да
Волтметър (AC): Да
Амперметър (променлив ток): Да
Уреди за измерване на мощност и енергия: Да
Радио
Wi-Fi
Протокол: 802.11 b/g/n/ax
Радиочестотна лента: 2401-2483 MHz
Максимална радиочестотна мощност: < 20 dBm
Обхват: До 50 м / 164 фута на открито, до 30 м / 98 фута на закрито (в зависимост от местните условия)
Bluetooth
Протокол: 5
Радиочестотна лента: 2400-2483,5 MHz
Максимална радиочестотна мощност: <4 dBm
Обхват: До 30 m на открито, до 10 m на закрито (в зависимост от местните условия)
Zigbee
Протокол: 802.15.4
Радиочестотна лента: 2400 до 2480 MHz
Максимална радиочестотна мощност: < 20 dBm
Обхват: До 100 m на закрито и 300 m на открито (в зависимост от местните условия)
Микроконтролер
CPU: ESP-Shelly-C68F
Флаш памет: 8 MB
Възможности за фърмуер
Графици: 20
Webhooks (действия на URL): 20 с по 5 URL адреса на кука
Скриптиране: Да
MQTT: Да
Почистване
⚠ВНИМАНИЕ!
Преди да почистите Устройството, изключете свързания уред, извадете го от електрическата мрежа и едва след това извадете Устройството от електрическата мрежа. Никога не почиствайте Устройството, ако то е свързано към електрическата мрежа.
Не използвайте агресивни почистващи препарати.
Не потапяйте Устройството и не го мийте под течаща вода.
Използвайте влажна мека кърпа, за да почистите Устройството.
Отстраняване на неизправности
В случай че срещнете проблеми с инсталирането или работата на Устройството, разгледайте страницата му с база знания: https://shelly.link/power_strip_4 Gen4.
Декларация за съответствие
С настоящото Shelly Europe Ltd. декларира, че радиооборудването тип Shelly Power Strip 4 Gen4 е в съответствие с Директива 2014/53/ЕС, 2014/35/ЕС, 2014/30/ЕС, 2011/65/ЕС. Пълният текст на ЕС декларацията за съответствие е достъпен на следния интернет адрес: https://shelly.link/power_strip_4_Gen4_DoC.
Изхвърляне и рециклиране
Не изхвърляйте продукта в битовите отпадъци. Рециклирайте продукта, за да предотвратите увреждане на околната среда и здравето и да насърчите опазването на ресурсите. Изхвърлете продукта в подходящ пункт за събиране на отпадъци на ваша отговорност.
Дилърите, от които е закупено Устройството, са длъжни да приемат безплатно Отпадъчно електрическо и електронно оборудване (ОЕЕО) за правилно изхвърляне.
Някои електронни продукти могат да съхраняват лични данни. Потребителят е отговорен за изтриването на тези данни преди изхвърляне на Устройството. За изтриване, нулирайте Устройството до фабричните му настройки.
Производител: Шелли Юръп ЕООД
Адрес: бул. „Черни връх“ 51, сграда 3, ет. 2-3, 1407 София, България
Тел.: +359 2 988 7435
Имейл: support@shelly.cloud
Официален уебсайт: https://www.shelly.com