Skip to main content
Skip table of contents

Shelly EM Mini Gen4

Shelly ЕM Mini Gen4.jpg

Device identification

  • Device name: Shelly EM Mini Gen4

  • Device model: S4EM-001PXCEU16

  • Device SSID: ShellyEMMiniG4-XXXXXXXX

  • BLE model ID: 0x1033

Short description

Shelly EM Mini Gen4 is a small form factor energy meter. Enhanced with all the gen3 firmware flexibility and also some of EM type Shelly devices, it provides professional integrators with additional options for end-customer solutions. It can work standalone in a local Wi-Fi network, or it can also be operated through cloud home automation services through MQTT, HTTP, and WebSocket. All inbound connections support TLS. The device is an improved version of Shelly PM Mini Gen3 with a more advanced processor and Zigbee connectivity.

Shelly EM Mini Gen4 can be accessed, set up, and monitored remotely by the User, as well as the Device can access and communicate with an automation system, as long as they are in the same network infrastructure.

The Device has an embedded Web Interface which can be used to monitor and control the device, as well as adjust its settings.
The device has multi-protocol wireless MCU which provide Zigbee and Bluetooth connectivity ensuring a secure connection.

This device is compatible with Matter.

Main features

  • Power Meter: Designed as a small form factor power meter, allowing you to monitor the power consumption of connected devices.

  • Enhanced Firmware Flexibility: Inherits the flexibility of gen4 firmware, providing professional integrators with additional options for end-customer solutions.

  • Compact size: EM Mini Gen4 can be connected in very tiny spaces, unreachable for other devices.

  • Improved Processor: Upgraded with an improved processor and Zigbee connectivity for enhanced performance.

  • Zigbee Connectivity: Zigbee is available for inclusion purposes, which may be useful during the setup process.

  • Remote Access: Can be accessed, set up, and monitored remotely by the user, as well as communicate with an automation system within the same network infrastructure.

  • Embedded Web Interface: Features an embedded web interface for monitoring, control, and adjustment of settings. 

  • BLE Gateway: Bridge between your Shelly BLU devices and the wider Shelly ecosystem. It receives Bluetooth signals and sends them to the cloud or locally to another non-bluetooth device.

  • Zigbee Range extender for IoT devices: A Zigbee extender is employed to expand the reach of your Zigbee network by receiving your Zigbee signal, enhancing its strength, and then transmitting the enhanced signal over a wider area.

  • WiFi Range extender for IoT devices: A WiFi extender is employed to expand the reach of your WiFi network by receiving your current WiFi signal, enhancing its strength, and then transmitting the enhanced signal over a wider area.

  • Scripting: https://shelly-api-docs.shelly.cloud/gen2/Scripts/ShellyScriptLanguageFeatures/

  • Wide range of integrations: The device can be integrated with 3rd party home systems, documented HTTP API, MQTT(s), Web Hooks over HTTP and HTTPS, UDP

Use cases

  • Power Consumption Monitoring: The primary purpose is to monitor the power consumption of connected devices in real-time. This information can be valuable for understanding energy usage patterns and making informed decisions to reduce consumption.

  • Energy Efficiency Optimization: Identify energy-hungry appliances and optimize their usage to improve overall energy efficiency in your home or workspace.

  • Appliance Health Check: Keep track of the power usage of individual appliances to assess their health and performance over time. Sudden spikes or changes in power consumption may indicate issues with the appliance.

  • Cost Management: With the knowledge of power consumption, you can estimate the cost of running specific devices and manage your electricity expenses more effectively.

  • Space-Efficient Retrofitting: Integrate the device into standard electrical wall boxes, behind power sockets, light switches, or other locations with limited space.

  • Remote Monitoring: Like the Shelly PM Mini Gen3, the EM Mini Gen4 also supports remote access. This allows you to monitor power consumption even when you're away from home. The device shares similarities to Shelly EM Gen3

Simplified internal schematics

Shelly Plus PM Mini internal schematics

Device electrical interfaces

Inputs

  • 2 line inputs on screw terminals: 1 L and 1 N

Outputs

  • 2 load circuit outputs (bridged internally): 2 O

Connectivity

  • Wi-Fi

  • Bluetooth

  • Zigbee

Supported load types

  • Resistive (incandescent bulbs, heating devices)

  • Capacitive (LED light drivers, capacitor banks, electronic equipment, motor start capacitors)

  • Inductive (transformers, fans, refrigerators, air-conditioners)

User interface

Inputs

  • One (Control) button

    • Press and hold for 5 seconds to enable Device access point and Bluetooth connection.

    • Press and hold for 10 seconds to factory reset the Device.

    • Press the button 5 times to switch the Device from Matter (default) to Zigbee profile. The Device enters inclusion mode for 3 minutes. Include the Device following the instructions of your Zigbee home automation system.

    • Press the button 3 times to restart the inclusion mode for another 3 minutes if you missed the previous 3-minute window.

Outputs

  • LED (monocolor) indication

    • AP (Access Point) enabled and Wi-Fi disabled:
      1 second ON / 1 second OFF

    • Wi-Fi enabled, but not connected to a Wi-Fi network:
      1 second ON / 3 seconds OFF

    • Connected to a Wi-Fi network:
      Constantly ON

    • Cloud is enabled, but not connected:
      1 second ON /5 seconds OFF

    • Connected to Shelly Cloud:
      Constantly ON

    • OTA (Over the Air Update):
      ½ sec ON / ½ second OFF

    • Button pressed and held for 5 seconds:
      ½ second ON / ½ second OFF

    • Button presses and held for 10 seconds:
      ¼ second ON / ¼ second OFF

The list above starts with the initial device status and the lowest priority. Every next state cancels the previous one.

Specifications

Quantity

Value

Physical

Size (HxWxD):

29x34x16 mm / 1.34x1.11x0.63 inch

Weight:

13 g / 0.46 oz

Screw terminals max torque:

0.4 Nm / 3.5 lbin

Conductor cross section:

0.2 to 2.5 mm² / 24 to 14 AWG (solid, stranded, and bootlace ferrules)

Conductor stripped length:

6 to 7 mm / 0.24 to 0.28 in

Mounting:

Wall console

Shell material:

Plastic

Shell color:

White

Terminals color:

Grey (Mouse Grey)

Environmental

Ambient working temperature:

-20 °C to 40 °C / -5 °F to 105 °F

Humidity:

30 % to 70 % RH

Max. altitude:

2000 m / 6562 ft

Electrical

Power supply:

  • 110-240 V~

Power consumption:

< 1 W

External protection:

Tripping characteristic B or C, max. 16A max. rated current, min. 6 kA interrupting rating, energy limiting class 3

Sensors, meters

Voltmeter (AC):

110-240 V~ 50/60 Hz

Voltmeter accuracy:

±1%

Ammeter (AC):

0 - 16A

Ammeter accuracy:

±1%

Power and energy meters:

  • Active power

  • Active energy

Measurement data storage:

At least 10 days of 1 min data resolution

Data export:

CSV for PQ recorded values

JSON format export through RPC

Output circuits ratings

Power measurement:

Yes

Max. measurement voltage:

240 V~

Max. measurement current:

16 A

Max. measurement power:

3840 W

Radio

Wi-Fi

Protocol:

802.11 b/g/n/ax

RF band:

2412 - 2472 МHz

Max. RF power:

< 20 dBm

Range:

Up to 30 m / 100 ft indoors and 50 m / 160 ft outdoors
(Depends on local conditions)

Bluetooth

Protocol:

5.0

RF band:

2402 - 2480 MHz

Max. RF power:

< 4 dBm

Range:

Up to 10 m / 33 ft indoors and 30 m / 100 ft outdoors
(Depends on local conditions)

Zigbee

Protocol:

802.15.4

RF bands:

2400 to 2483.5 MHz

Max. RF power:

< 20 dBm

Range:

Up to 100 m / 328 ft indoors and 300 meters / 984 ft outdoors
(Depends on local conditions)

Microcontroller unit

CPU:

ESP-Shelly-C68F

Flash:

8MB

Firmware capabilities

Schedules:

20

Webhooks (URL actions):

20 with 5 URLs per hook

Scripting:

Yes

MQTT:

Yes

UDP:

Yes

Advanced schedules:

Yes

KVS (Key-Value Store):

Yes

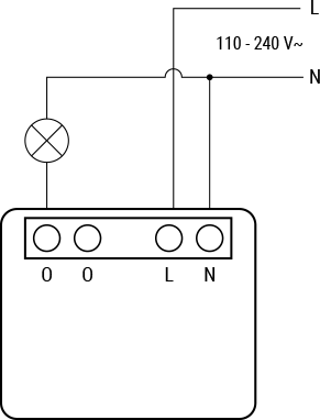
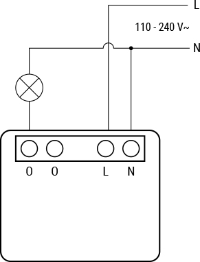
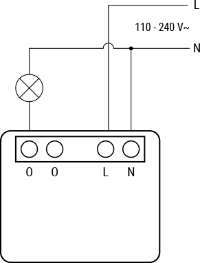
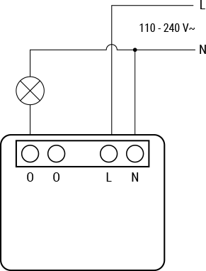
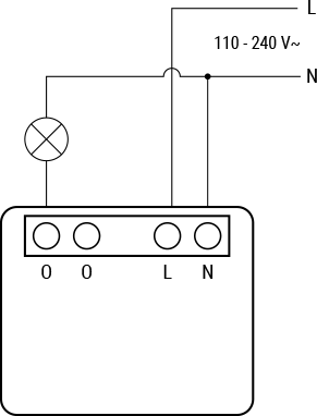
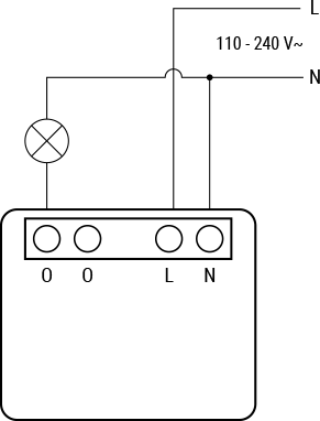
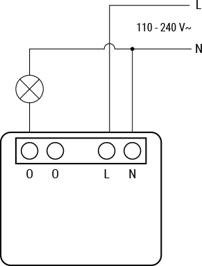
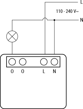
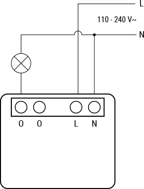
Basic wiring diagrams

Plus-PM-Mini-wiring-diagram-20240528-142223.png

Legend

Terminals

Wires

O

Load circuit output terminals (bridged internally)

L

Live (110-240 V) wire

L

Live (110-240 V) terminal

N

Neutral wire

N

Neutral terminal

Shelly Smart Control

Components and APIs

Compliance

Shelly EM Mini Gen4 multilingual EU declaration of conformity 2025-07-21.pdf

Shelly EM Mimi Gen4 UK PSTI ACT Statement of compliance.pdf

Printed user guide

Shelly EM Mini Gen 4 multilingual printed user and safety guide.pdf

Installation guides

JavaScript errors detected

Please note, these errors can depend on your browser setup.

If this problem persists, please contact our support.