Ръководство за употреба и безопасност (Shelly 1 Gen4)
Shelly1 Gen4
Интелигентен превключвател с безпотенциални контакти
Наричан в този документ Устройството.
Информация за безопасност
За безопасна и правилна употреба, прочетете това ръководство и всички други документи, придружаващи този продукт. Запазете ги за бъдещи справки. Неспазването на процедурите за монтаж може да доведе до неизправност, опасност за здравето и живота, нарушение на закона и/или отказ от правни и търговски гаранции (ако има такива). Шелли Юръп ЕООД не носи отговорност за каквито и да е загуби или щети в случай на неправилен монтаж или неправилна работа на това устройство поради неспазване на инструкциите за потребителя и безопасност в това ръководство.
Този знак показва информация за безопасност.
Този знак показва важна забележка.
ПРЕДУПРЕЖДЕНИЕ!
Риск от токов удар. Монтажът на Устройството към електрическата мрежа трябва да се извърши внимателно от квалифициран електротехник.
Преди да инсталирате Устройството, изключете прекъсвачите. Използвайте подходящо тестово Устройство, за да се уверите, че няма напрежение върху проводниците, които искате да свържете. Когато сте сигурни, че няма напрежение, продължете с инсталирането.
Преди да правите каквито и да е промени по връзките, уверете се, че на терминалите на Устройството няма напрежение.
ВНИМАНИЕ!
Свързвайте Устройството само към електрическа мрежа и уреди, които отговарят на всички приложими разпоредби. Късо съединение в електрическата мрежа или който и да е уред, свързан към Устройството, може да причини пожар, материални щети и токов удар.
Устройството може да се свързва и да управлява само електрически вериги и уреди, които отговарят на приложимите стандарти и норми за безопасност.
Не свързвайте Устройството към уреди, които превишават посоченото максимално електрическо натоварване.
Свързвайте Устройството само по начина, показан в тези инструкции. Всеки друг метод може да причини повреда и/или нараняване.
Устройството и свързаните към него уреди трябва да бъдат обезопасени с предпазител на кабела в съответствие с EN60898-1 (характеристика на изключване B или C, макс. 16 A номинален ток, мин. 6 kA прекъсваща способност, клас на ограничаване на енергията 3).
Не използвайте Устройството, ако то показва признаци на повреда или дефект.
Не се опитвайте да поправяте Устройството сами.
Устройството е предназначено само за употреба на закрито.
Пазете Устройството от замърсявания и влага.
Не позволявайте на деца да си играят с бутоните/превключвателите, свързани към Устройството. Дръжте устройствата (мобилни телефони, таблети, компютри) за дистанционно управление на Shelly далеч от деца.
Описание на продукта
Shelly 1 Gen4 е съвместим с Matter интелигентен превключвател с безпотенциални контакти. Оборудван с многопротоколен безжичен MCU,
той поддържа Zigbee и Bluetooth свързаност за сигурна връзка. Устройството работи както с променливотоково, така и с постояннотоково захранване. Малкият му форм-фактор позволява допълнително монтиране в стандартни електрически кутии за стена, зад контакти, ключове за осветление или други места с ограничено пространство.
Устройството има вграден уеб интерфейс за наблюдение, управление и регулиране на настройките му. Уеб интерфейсът е достъпен на http://192.168.33.1, когато е свързано директно към точката за достъп на Устройството, или на неговия IP адрес, когато е достъпно от същата мрежа.
Устройството може да осъществява достъп и да взаимодейства с други интелигентни устройства или системи за автоматизация, ако те са в една и съща мрежова инфраструктура. Шелли Юръп ЕООД предоставя API за устройствата, тяхната интеграция и облачен контрол. За повече информация посетете https://shelly-api-docs.shelly.cloud.
Устройството се доставя с фабрично инсталиран фърмуер. За да го поддържа актуално и сигурно, Шелли Юръп ЕООД предоставя най-новите актуализации на фърмуера безплатно. Достъп до актуализациите можете да получите чрез вградения уеб интерфейс или мобилното приложение Shelly Smart Control. Инсталирането на актуализации на фърмуера е отговорност на потребителя. Шелли Юръп ЕООД не носи отговорност за несъответствие на Устройството, причинено от невъзможността на потребителя да инсталира наличните актуализации своевременно.
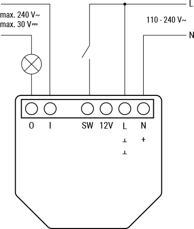
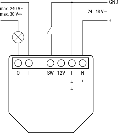
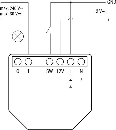
Схема на свързване

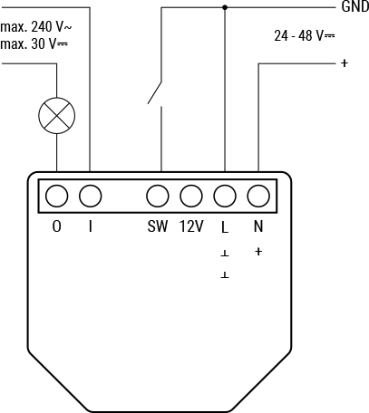
Фиг. 1. 110-240 V~ захранване

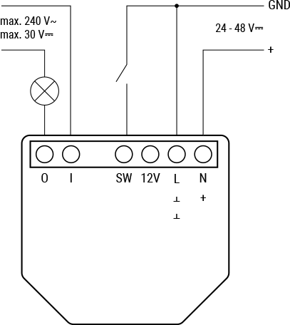
Фиг. 2. 24-48 V⎓ захранване

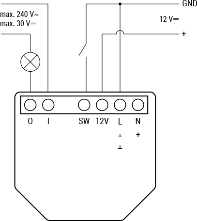
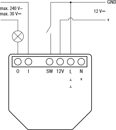
Фиг. 3. 12 V⎓ стабилизирано захранване
Легенда
Терминали на Устройството
O: Терминал изход за товарната верига
I: Терминал вход за товарната верига
SW: Терминал вход за ключ/бутон (управляващ O)
L: Терминал фаза (110-240 V~)
N: Терминал нула
+12V: Терминал + (12 V⎓)
+: Терминал + (24-48 V⎓)
Ʇ: Терминал маса (12 / 24-48 V⎓)
Проводници
L: Проводник фаза (110-240 V~)
N: Проводник нула
+: Проводник + (12 / 24-48 V⎓)
GND: Проводник маса (12 / 24-48 V⎓)
Инструкции за монтаж
За свързване на Устройството препоръчваме използването на едножилни плътни проводници или многожилни проводници с накрайници. Проводниците трябва да имат изолация с повишена топлоустойчивост, не по-малка от PVC T105°C (221°F).
ЗАБЕЛЕЖКА
Не използвайте бутони или превключватели с вградени светодиодни или неонови индикаторни лампи.
Когато свързвате проводници към клемите на Устройството, вземете предвид посоченото напречно сечение на проводника и дължината на оголване . Не свързвайте няколко проводника към еднин терминал.
От съображения за сигурност, след като успешно свържете Устройството към локалната Wi-Fi мрежа, препоръчваме да деактивирате или защитите с парола точката за достъп (AP) на Устройството.
За да активирате точката за достъп и Bluetooth връзката на Устройството, натиснете и задръжте бутона за нулиране/управление за 5 секунди.
За да извършите фабрично нулиране на Устройството, натиснете и задръжте бутона за нулиране/управление за 10 секунди.
Свържете товарната веригата на към входния I и изходния O терминали на Устройството.
Ако използвате захранване 110-240 V~ (фиг. 1):
Свържете фазовия проводник към L терминала, а нулевия проводник към N терминала.
Свържете превключвателя към SW терминала на Устройството и фазовия проводник.
Ако използвате захранване 24-48 V (фиг. 2) :
Напрежението на I и O терминалите на Устройството не трябва да надвишава 30 V.
Свържете DC+ проводника към + терминала и GND проводника към Ʇ терминала .
Свържете превключвателя към SW терминала и GND проводника.
Ако използвате стабилизирано захранване 12V (фиг. 3) :
Изпълнете предишните две стъпки. Вместо да свързвате 12V+ към + терминала, свържете го към 12V терминала.
Shelly Smart Control
Устройството може да се наблюдава, контролира и настройва чрез Shelly Smart Control. Можете да получите достъп до услугата чрез приложението Shelly Smart Control или уеб браузър на адрес https://control.shelly.cloud .
Shelly Smart Control е по избор. Устройството може да се използва самостоятелно или с други платформи за домашна автоматизация.
За инструкции как да добавите Устройството към Shelly Smart Control и да го управлявате от мобилното приложение, вижте: https://shelly.link/app-guide .
Настройка с Matter
Преди да започнете, уверете се, че имате:
2.4 GHz Wi-Fi мрежа.
Контролер на Matter, свързан към същата мрежа.
Сканирайте QR кода Matter, предоставен с Устройството.
Следвайте инструкциите на мобилното си Устройство.
Настройка със Zigbee
Преди да започнете, уверете се, че имате Zigbee координатор, свързан с интернет.
Превключете от Wi-Fi (Matter) към Zigbee свързаност, като натиснете бързо 5 пъти бутона Reset. Устройството ще влезе в режим на включване на Zigbee за 2 минути.
Добавете Устройството, следвайки инструкциите на вашата система за домашна автоматизация Zigbee.
ЗАБЕЛЕЖКА
Ако режимът на включване на Zigbee изтече, натиснете натиснете бутона за нулиране 3 пъти.
Докато сте в режим Zigbee, ако трябва отново да използвате Устройството с Wi-Fi, задръжте бутона Reset за 5 секунди, за да активирате точката му за достъп.
Получаването на актуализация деактивира превключването на свързаността с бутоните. Можете да намерите как да превключите свързаността в настройките на уеб интерфейса на Устройството.
Спецификации
Физически
Размери ( ВxШxД ): 37x42x16 пп
Тегло: 26 g
Максимален въртящ момент на винтовите клеми: 0,4 Nm
Напречно сечение на проводника: от 0,2 до 2,5 mm² (едножилни, многожилни и с накрайници)
Дължина на оголения проводник: 6 до 7 mm
Монтаж: Стенна кутия
Материал на корпуса: Пластмаса
Цвят на корпуса: Син
Условия на околна среда
Работна температура на околната среда: от -20°C до 40°C
Влажност: от 30% до 70% относителна влажност
Максимална надморска височина: 2000 m
Електрически
Захранване:
110-240 V~ 50/60 Hz
24-48 V⎓
12 V⎓
Консумирана мощност: < 1,2 W
Номинални стойности на изходните вериги
Максимално напрежение на превключване:
240 V~
30 V⎓
Максимален ток на превключване:
16 A (240 V~)
10 A (30 V⎓ )
Сензори, измервателни уреди
За вътрешна температура : Да
Радио
Wi-Fi
Протокол: 802.11 b/g/n/ax
Радиочестотна лента: 2401-2483 MHz
Максимална радиочестотна мощност: < 20 dBm
Обхват: До 50 m на открито, до 30 m на закрито (в зависимост от местните условия)
Bluetooth
Протокол: 5
Радиочестотна лента: 2400 - 2483,5 MHz
Максимална радиочестотна мощност: <4 dBm
Обхват: До 30 m, до 10 m на закрито (в зависимост от местните условия)
Zigbee
Протокол: 802.15.4
Радиочестотна лента: 2400 до 2480 MHz
Максимална радиочестотна мощност: < 20 dBm
Обхват: До 100 m на закрито и 300 m на открито (в зависимост от местните условия)
Микроконтролер
Процесор: ESP-Shelly-C68F
Флаш памет: 8 MB
Възможности на фърмуера
Графици: 20
Уеб кукички (URL действия): 20 с 5 URL адреса на кука
Разширител на обхвата на Wi-Fi: Да
BLE гейтуей: Да
Скриптаве: Да
MQTT: Да
Криптиране: Да
Отстраняване на неизправности
В случай че срещнете проблеми с инсталирането или работата на Устройството, проверете страницата му в базата знания: https://shelly.link/1_Gen4
Декларация за съответствие
С настоящото Шелли Юръп ЕООД декларира, че радиосъоръжението тип Shelly 1 Gen4 е в съответствие с Директива 2014/53/ЕС, 2014/35/ЕС, 2014/30/ЕС, 2011/65/ЕС. Пълният текст на декларацията за съответствие с изискванията на ЕС е достъпен на следния интернет адрес: https://shelly.link/1_Gen4_DoC
Изхвърляне и рециклиране
Не изхвърляйте продукта в битовите отпадъци. Рециклирайте продукта, за да предотвратите увреждане на околната среда и здравето и да насърчите опазването на ресурсите. Изхвърлете продукта в подходящ пункт за събиране на отпадъци на ваша отговорност.
Дилърите, от които е закупено Устройството, са длъжни да приемат безплатно Отпадъчно електрическо и електронно оборудване (ОЕЕО) за правилно изхвърляне.
Някои електронни продукти могат да съхраняват лични данни. Потребителят е отговорен за изтриването на тези данни преди изхвърляне на Устройството. За изтриване, нулирайте Устройството до фабричните му настройки.
Производител: Шелли Юръп ЕООД
Адрес: бул. „Черни връх“ 51, сграда 3, ет. 2-3, 1407 София, България
Тел.: +359 2 988 7435
Имейл: support@shelly.cloud
Официален уебсайт: https://www.shelly.com
Промените в информацията за контакт се публикуват от Производителя на официалния уебсайт.
Всички права върху търговската марка Shelly® и други интелектуални права, свързани с това Устройство, принадлежат на Шелли Юръп ЕООД