Ръководство за употреба и безопасност (Plug S MTR Gen3)
Умен Wi-Fi и Bluetooth щепсел
Наричан в този документ "Устройството"
 За безопасна и правилна употреба следвайте тези инструкции. Запазете ги за бъдеща справка.
Този знак обозначава информация, свързана с безопасност.
Този знак обозначава важна бележка.
Информация за безопасност
За да избегнете възможна вреда, прочетете и следвайте тези инструкции.
ПРЕДУПРЕЖДЕНИЕ!
Не използвайте устройството за захранване или контрол на състоянието на включване/изключване на животоподдържащо оборудване.
Не използвайте Устройството за управление на оборудване, когато неточното определяне на времето или случайните команди за включване/изключване могат да бъдат опасни. Примери за такова оборудване са сауни, слънчеви лампи, електрически одеяла и др.
ВНИМАНИЕ!
Свързвайте Устройството само по начина, показан в тези инструкции. Всеки друг метод може да доведе до повреда и/или нараняване.
Свързвайте Устройството само към електрическа мрежа и уреди, които отговарят на всички приложими разпоредби. Късо съединение в електрическата мрежа или в някой уред, свързан с Устройството, може да причини пожар, материални щети и токов удар.
Устройството може да се свързва и управлява само към електрически вериги и уреди, които отговарят на приложимите стандарти и норми за безопасност.
Не свързвайте Устройството към уреди, които надвишават посочения максимален електрически товар.
Не използвайте Устройството, ако то показва каквито и да било признаци на повреда или дефект.
Незабавно изключете Устройството от електрическия контакт, ако то излъчва дим, издава шум или има необичайна миризма.
Не се опитвайте да ремонтирате Устройството сами.
Веригата, в която работи Устройството, трябва да бъде обезопасена с кабелен защитен превключвател в съответствие с EN60898-1 (характеристика на изключване B или C, макс. 16 A номинален ток, мин. 6 kA степен на прекъсване, клас на ограничаване на енергията 3).
Устройството е предназначено само за употреба на закрито.
Не използвайте Устройството във влажна среда. Не допускайте устройството да се намокри.
Не включвайте Устройствата едно към друго.
Не включвайте в Устройството никакво оборудване, което се включва директно към електрическата мрежа. Примери за оборудване, което се включва директно в електрическата мрежа, са трансформатори, зареждащи батерии и др.
Не използвайте устройството, ако то е покрито.
Не позволявайте на деца да си играят с бутоните/превключвателите, свързани към Устройството. Съхранявайте устройствата (мобилни телефони, таблети, персонални компютри) за дистанционно управление на Shelly далеч от деца.
Описание на устройството
Shelly Plug S MTR Gen3 е съвместим с Matter умен контакт с измерване на мощността, защита от пренапрежение, поднапрежение и прегряване. Устройството позволява дистанционно управление на електрически уреди с различни платформи за интелигентен дом.

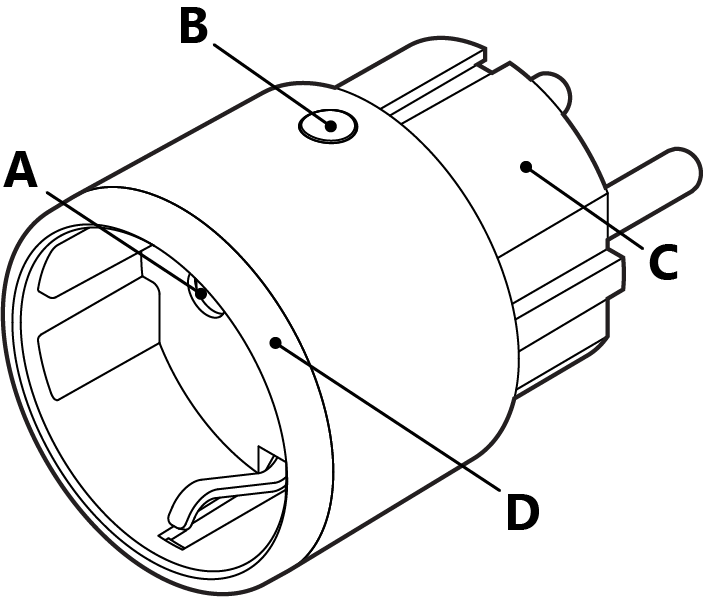
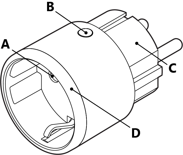
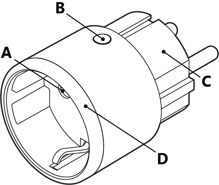
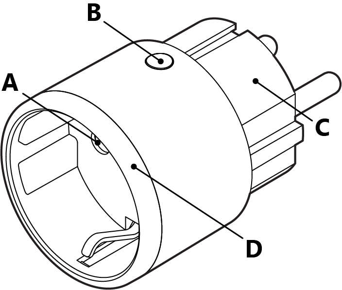
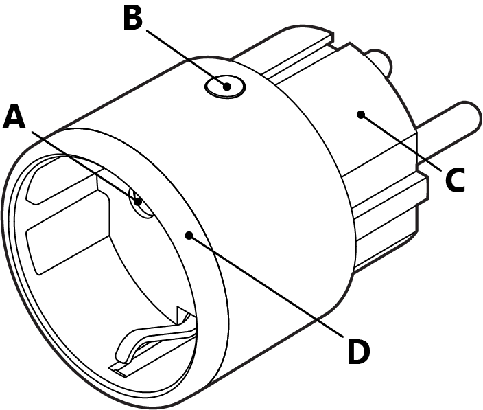
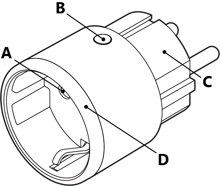
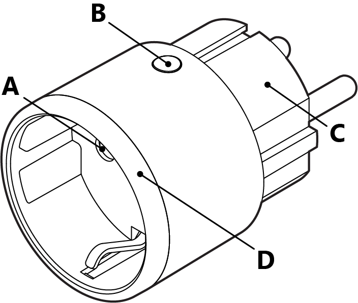
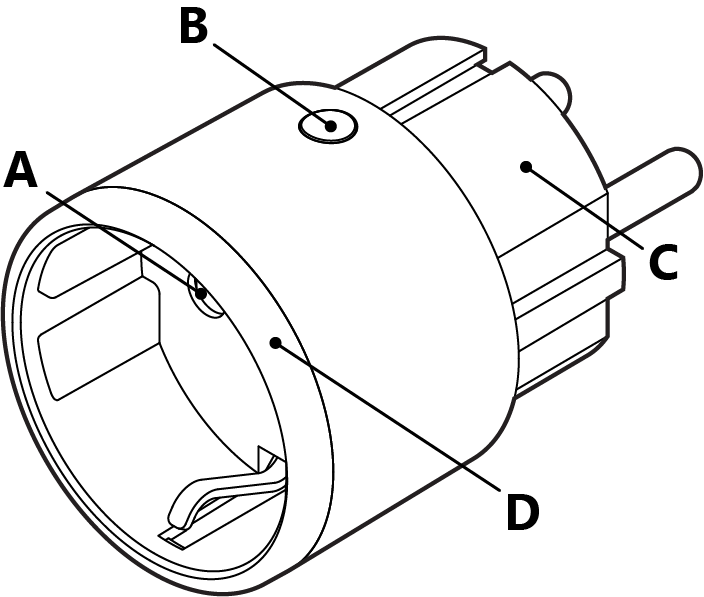
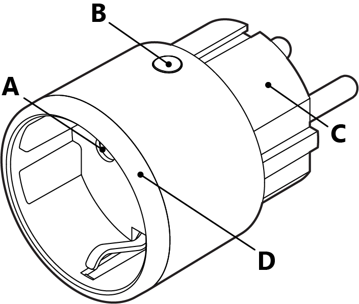
Фиг. 1
Легенда:
A: Гнездо
B: Бутон за управление
C: Щепсел
D: Светодиоден индикатор
Уеб интерфейс
Устройството има вграден уеб интерфейс за наблюдение, управление и настройка. Уеб интерфейсът е достъпен на адрес http://192.168.33.1 при директна връзка към точката за достъп на устройството или на неговия IP адрес при достъп от същата мрежа. За повече информация посетете https://shelly-link/webui-guide.
Фърмуер
Устройството се предлага с фабрично инсталиран фърмуер. Винаги използвайте най-новата версия на фърмуера. Редовно проверявайте за актуализации чрез уеб интерфейса или приложението Shelly Smart Control
API
Устройството може да има достъп и да взаимодейства с други интелигентни устройства или системи за автоматизация, ако те са в една и съща мрежова инфраструктура. Шелли Юръп ЕООД предоставя API за устройствата, тяхната интеграция и облачен контрол. За повече информация посетете https://shelly-api-docs.shelly.cloud .
Инструкции за монтаж
Свързване на устройството чрез Matter*
Преди да започнете, уверете се, че имате:
2,4 GHz Wi-Fi мрежа
Разклонител, съвместим с Matter, свързан с интернет
Мобилно устройство с активиран Bluetooth и инсталирано приложение, съвместимо с Matter*

Фиг. 2
За да свържете устройството, следвайте стъпките, както е показано на Фиг. 2.
*Matter – универсален стандарт за свързване на умни устройства в дома, който осигурява съвместимост между продукти от различни производители и лесна настройка през локална мрежа.
Използване на устройството в Shelly Cloud
Устройството може да бъде наблюдавано, управлявано и настройвано чрез нашата услуга за домашна автоматизация Shelly Cloud. Можете да използвате услугата чрез нашето мобилно приложение за Android, iOS или Harmony OS или чрез всеки интернет браузър на адрес https://control.shelly.cloud/ . Ако решите да използвате устройството с приложението и услугата Shelly Cloud, можете да намерите инструкции за свързване на устройството с облака и управлението му от приложението Shelly в ръководството за приложението: https://shelly.link/app-guide . Мобилното приложение Shelly и услугата Shelly Cloud не са предпоставки за правилното функциониране на Устройството. Това Устройство може да се използва самостоятелно или с различни други платформи за домашна автоматизация.
Спецификации
Размер (HxWxD): 44x44x70 мм (1,73x1,73x2,75 инча)
Съвместими гнезда: CEE 7/1, CEE 7/3 (тип F / Schuko) или CEE 7/5 (тип E)
Съвместими щепсели: CEE 7/2, CEE 7/4 (тип F / Schuko), CEE 7/7, CEE 7/16 (тип C) или CEE 7/17
Работна температура на околната среда: -20°C до 40°C / -5°F до 105°F
Влажност на въздуха: от 30% до 70% RH
Максимална надморска височина: 2000 m / 6562 ft
Степен на замърсяване: 2
Степен на защита: IP 20
Захранване: 220 - 230 V~ 50/60 Hz
Номинално импулсно устойчиво напрежение: 2500 V
Максимално напрежение на превключване: 230 V~
Максимален ток на превключване: 12 A
Максимална мощност: 2500 W (резистивна)
Wi-Fi
Протокол: 802.11 b/g/n
Радиочестотна лента: 2401 - 2495 MHz
Макс. Радиочестотна мощност: < 20 dBm
Обхват: До 50 м на открито, до 30 м на закрито (в зависимост от местните условия)
Bluetooth
Протокол: 4.2
Радиочестотна лента: 2400 - 2483,5 MHz
Макс. RF мощност: < 4 dBm
Обхват: До 30 м на открито, до 10 м на закрито (в зависимост от местните условия)
Отстраняване на неизправности
В случай че срещнете проблеми с инсталирането или работата на Устройството, проверете неговата база за знания страница: https://shelly.link/plug_s_mtr_Gen3
Декларация за съответствие
С настоящото Шелли Юръп ЕООД декларира, че радиооборудването тип Shelly Plug S MTR Gen3 е в съответствие с Директива 2014/53/ЕС, 2014/35/ЕС, 2014/30/ЕС, 2011/65/ЕС. Пълният текст на ЕС декларацията за съответствие е достъпен на следния интернет адрес: https://shelly.link/plug_s_mtr_gen3_DoC
Изхвърляне и рециклиране
 Не изхвърляйте продукта в битови отпадъци. Рециклирайте продукта, за да предотвратите щети на околната среда и здравето и за насърчаване на опазването на ресурсите. Изхвърлете продукта на подходящо място за събиране на отпадъци на ваша отговорност.
Препродавачите, от които е закупено Устройството, са длъжни да приемат отпадъци от електрическо и електронно оборудване (ОЕЕО) безплатно за правилното обезвреждане.
Някои електронни продукти могат да съхраняват лични данни. Потребителят носи отговорност за изтриването на тези данни преди изхвърлянето на Устройството. За изтриване нулирайте устройството до фабричните настройки.
Производител
Шелли Юръп ЕООД
Адрес: бул. Черни връх 51, бул. 3, ет. 2-3, 1407 София, България, Тел. +359 2 988 7435, Електронна поща: support@shelly.cloud, Официален сайт: https://www.shelly.com
Промените в информацията за контакт се публикуват от производителя на официалния уебсайт.
Всички права върху търговската марка Shelly® и други интелектуални права, свързани с това устройство, принадлежат на Shelly Europe Ltd.